EasyManua.ls Logo

Vertiv NetSure7100 Series - Page 30

Vertiv NetSure7100 Series
130 pages
Print Icon
To Next Page IconTo Next Page
To Next Page IconTo Next Page
To Previous Page IconTo Previous Page
To Previous Page IconTo Previous Page
Loading...
Vertiv | NetSure 7100 Series Quick Start Guide (QS582127000) | Rev. T
30
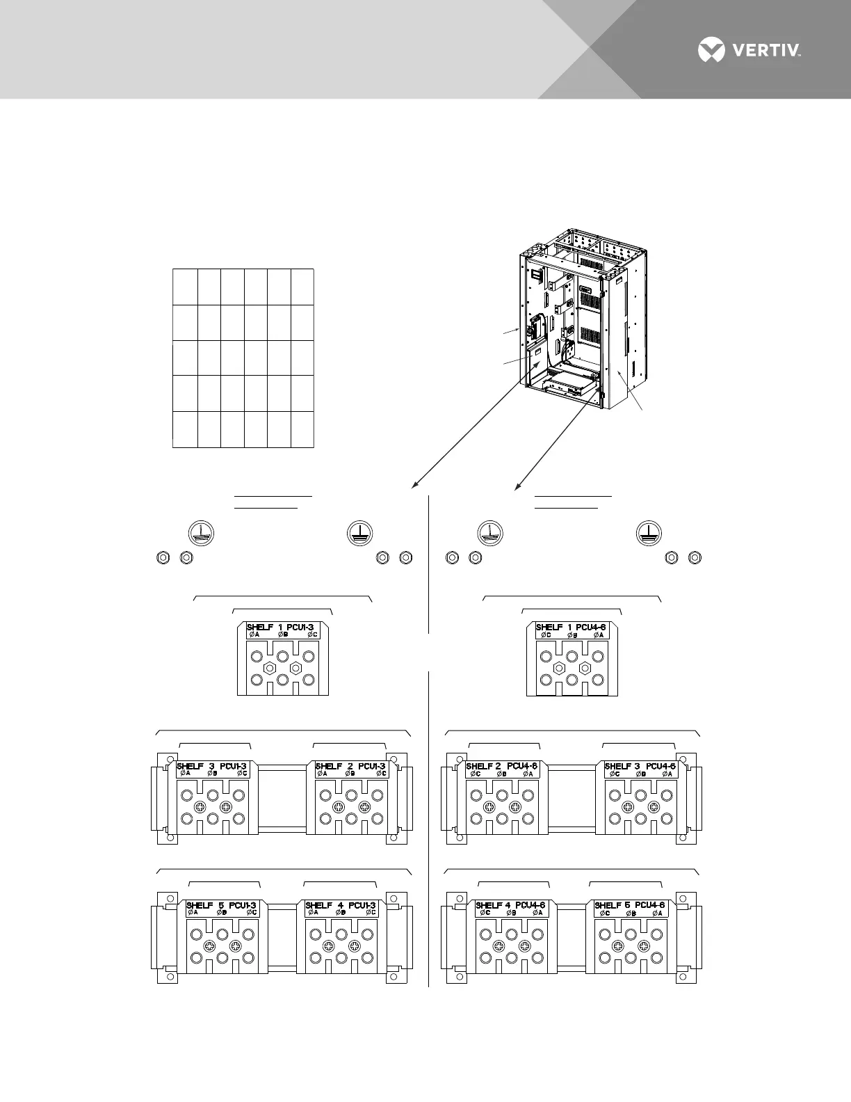
Figure 11:
AC Input Connections to AC Input Termination Assembly List 42 when used with 588705000 or
588705300 or 588705400 or 588705500 Module Mounting Assemblies with Rectifiers (Nominal
208 VAC, 240 VAC) (1 Feed per 3 Rectifiers, Three Phase) (Installed in a Relay Rack)
(4-Row Cabinet Shown,
Others Similar)
Front Door Removed in
Illustration for Clarity
AC INPUT CONNECTIONS,
1 FEED PER 3 RECTIFIERS, THREE PHASE
(582127000 LIST 42)
Inside View
Left Side
Inside View
Right Side
NOTE:
WIRING TO A FIELD INSTALLED
SHELF IS DONE AT THE REAR
OF THE SHELF.
GND GND
GND GND
AC Wireway
Cover
AC Wireway
Cover
AC Input
Connector Cover
A B C
RECTIFIER (PCU) AC INPUT FEEDS
1 FEED PER 3 RECTIFIERS (PCU)
208 VAC / 240 VAC, 50 Hz / 60Hz, THREE PHASE
SHELF 1 - PCUs #1 - #3
A B C
RECTIFIER (PCU) AC INPUT FEEDS
1 FEED PER 3 RECTIFIERS (PCU)
208 VAC / 240 VAC, 50 Hz / 60Hz, THREE PHASE
SHELF 3 - PCUs #1 - #3
A B C
SHELF 2 - PCUs #1 - #3
A B C
RECTIFIER (PCU) AC INPUT FEEDS
1 FEED PER 3 RECTIFIERS (PCU)
208 VAC / 240 VAC, 50 Hz / 60Hz, THREE PHASE
SHELF 5 - PCUs #1 - #3
A B C
SHELF 4 - PCUs #1 - #3
C B A
RECTIFIER (PCU) AC INPUT FEEDS
1 FEED PER 3 RECTIFIERS (PCU)
208 VAC / 240 VAC, 50 Hz / 60Hz, THREE PHASE
SHELF 1 - PCUs #4 - #6
C B A
RECTIFIER (PCU) AC INPUT FEEDS
1 FEED PER 3 RECTIFIERS (PCU)
208 VAC / 240 VAC, 50 Hz / 60Hz, THREE PHASE
SHELF 2 - PCUs #4 - #6
C B A
SHELF 3 - PCUs #4 - #6
C B A
RECTIFIER (PCU) AC INPUT FEEDS
1 FEED PER 3 RECTIFIERS (PCU)
208 VAC / 240 VAC, 50 Hz / 60Hz, THREE PHASE
SHELF 4 - PCUs #4 - #6
C B A
SHELF 5 - PCUs #4 - #6
FRAME GROUND
CONNECTION
Four 10-32 X 3/4"
Studs and Hardware.
Recommended torque:
23 in-lbs.
FRAME GROUND
CONNECTION
Four 10-32 X 3/4"
Studs and Hardware.
Recommended torque:
23 in-lbs.
Wire Size Capacity: 6-14 AWG.
Recommended Torque: 18 in-lbs.
Rectifier Module (PCU) Mounting Slots
Shelf #1
Rect.
(PCU)
1
Rect.
(PCU)
2
Rect.
(PCU)
3
Rect.
(PCU)
4
Rect.
(PCU)
5
Rect.
(PCU)
6
Rect.
(PCU)
1
Rect.
(PCU)
2
Rect.
(PCU)
3
Rect.
(PCU)
4
Rect.
(PCU)
5
Rect.
(PCU)
6
Rect.
(PCU)
1
Rect.
(PCU)
2
Rect.
(PCU)
3
Rect.
(PCU)
4
Rect.
(PCU)
5
Rect.
(PCU)
6
Rect.
(PCU)
1
Rect.
(PCU)
2
Rect.
(PCU)
3
Rect.
(PCU)
4
Rect.
(PCU)
5
Rect.
(PCU)
6
Rect.
(PCU)
1
Rect.
(PCU)
2
Rect.
(PCU)
3
Rect.
(PCU)
4
Rect.
(PCU)
5
Rect.
(PCU)
6
Shelf #2
Shelf #3
Shelf #4
Shelf #5
Note: For fewer power shelves than shown, only the connections for the installed shelves are present.
Note: The three-phase input is internally distributed within the system to provide a single-phase
line to neutral connection to each rectifier position, evenly distributed across the three phases.

Table of Contents

Other manuals for Vertiv NetSure7100 Series

Related product manuals