EasyManua.ls Logo

Vetta V100A - Page 37

Vetta V100A
58 pages
Print Icon
To Next Page IconTo Next Page
To Next Page IconTo Next Page
To Previous Page IconTo Previous Page
To Previous Page IconTo Previous Page
Loading...
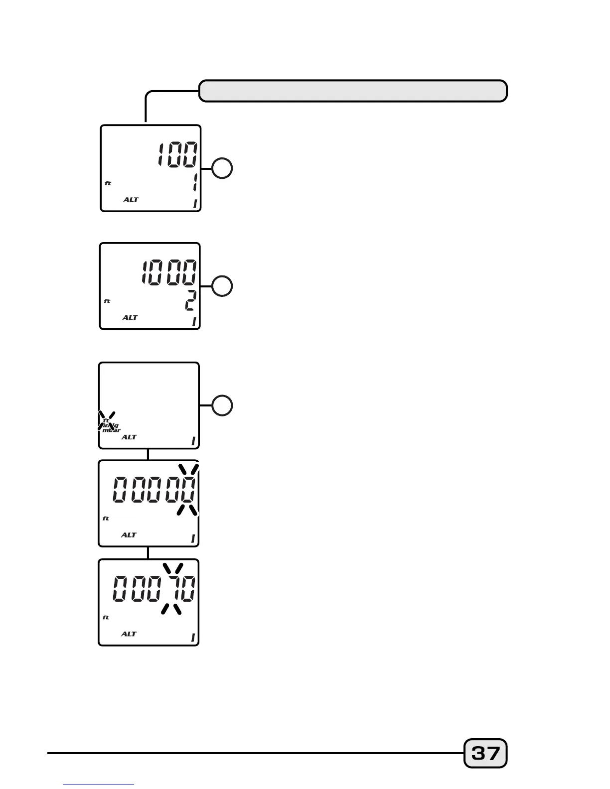
To calibrate the Altimeter, access the
Pre-Ride Altimeter Calibration Setup
program in NOM from the ALT/%
screen. Press both Buttons #1 and #2
simultaneously for 2 seconds to enter the
Setup screens for Altimeter Calibration. A)
The first screen shows the Memory 1
Altimeter setting. Press Button #1 to
select that altitude setting, or B) Press
Button #2 to advance to the Altimeter
Memory 2 setting and press Button #1 to
select. Or, C) Press Button #2 again to
advance to the Manual Altimeter
Calibration screen. Press Button #1 to
advance to the Manual Elevation
Setting. On the upper line the digits
"00000" will appear with the right digit
flashing. A known elevation may be
entered in this screen by pressing Button
#2 to increase the flashing digit to the
desired number (in feet or meters). Press
Button #1 to select the correct digit and
advance. Continue to enter numbers in
this manner to reach the current
elevation (pre-ride) until the entry is
complete, then press Button #1 to select
it and return to the (newly calibrated)
ALT/% screen.
PRE-RIDE ALTIMETER CALIBRATION
A
BB
C
x
x
x

Related product manuals