EasyManua.ls Logo

VEVOR SBC150 - Page 104

VEVOR SBC150
152 pages
Print Icon
To Next Page IconTo Next Page
To Next Page IconTo Next Page
To Previous Page IconTo Previous Page
To Previous Page IconTo Previous Page
Loading...
- 8 -
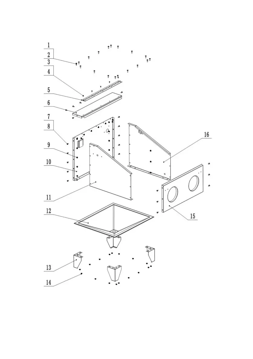
Krok 2 Złóż szafkę
1. Połącz lewą płytę szafki (nr 11), prawą płytę szafki (nr 16) z tylną płytą szafki
(nr 10) za pomocą śruby M6*12 (nr 7), podkładki (nr 8) i nakrętki (nr .8) . Połącz
przednią płytę (nr 15) z lewą i prawą płytą. Na koniec połącz górną płytę (nr 6) z drugą
Machine Translated by Google

Related product manuals