EasyManua.ls Logo

VEVOR SBC150 - Page 142

VEVOR SBC150
152 pages
Print Icon
To Next Page IconTo Next Page
To Next Page IconTo Next Page
To Previous Page IconTo Previous Page
To Previous Page IconTo Previous Page
Loading...
- 8 -
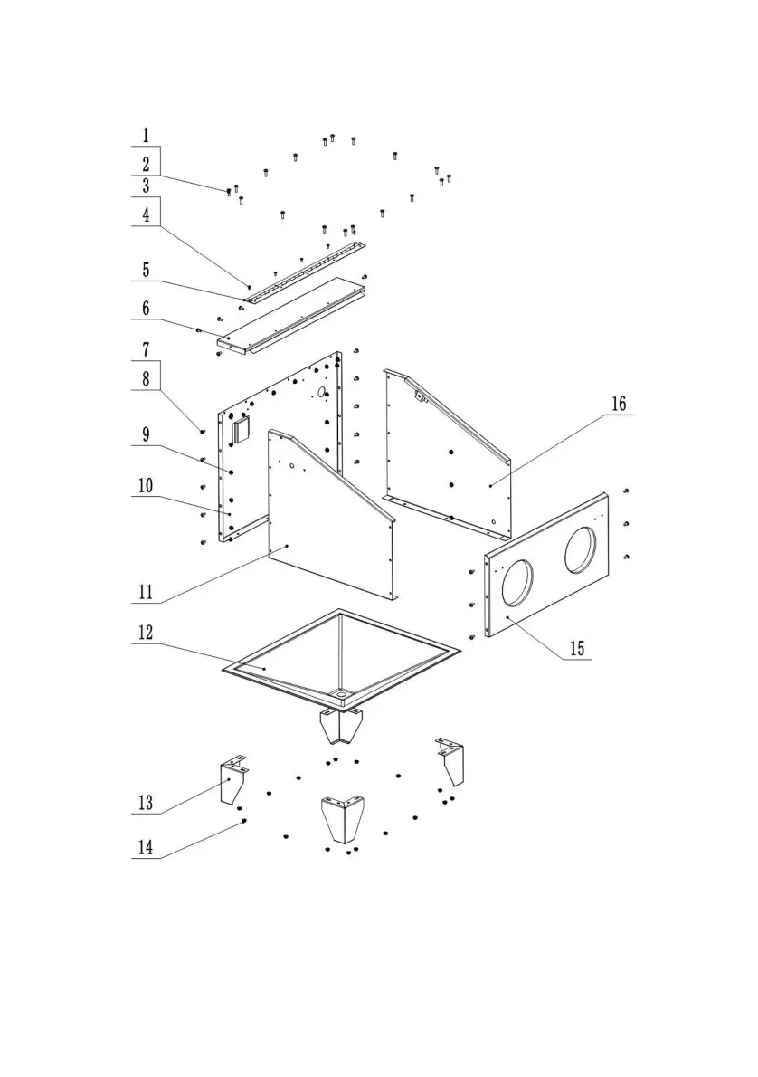
Steg 2 Montera skåpet
1. Anslut vänster skåpplatta (nr 11), höger skåpplatta (nr 16) med bakre skåpplatta
(nr 10) med M6*12 skruv (nr 7), bricka (nr 8) och mutter (nr. .8) . Anslut frontplåten
(nr 15) med vänster och höger plåt. Slutligen, anslut toppplattan (nr 6) med andra
Machine Translated by Google

Related product manuals