EasyManua.ls Logo

VEVOR SBC150 - Page 47

VEVOR SBC150
152 pages
Print Icon
To Next Page IconTo Next Page
To Next Page IconTo Next Page
To Previous Page IconTo Previous Page
To Previous Page IconTo Previous Page
Loading...
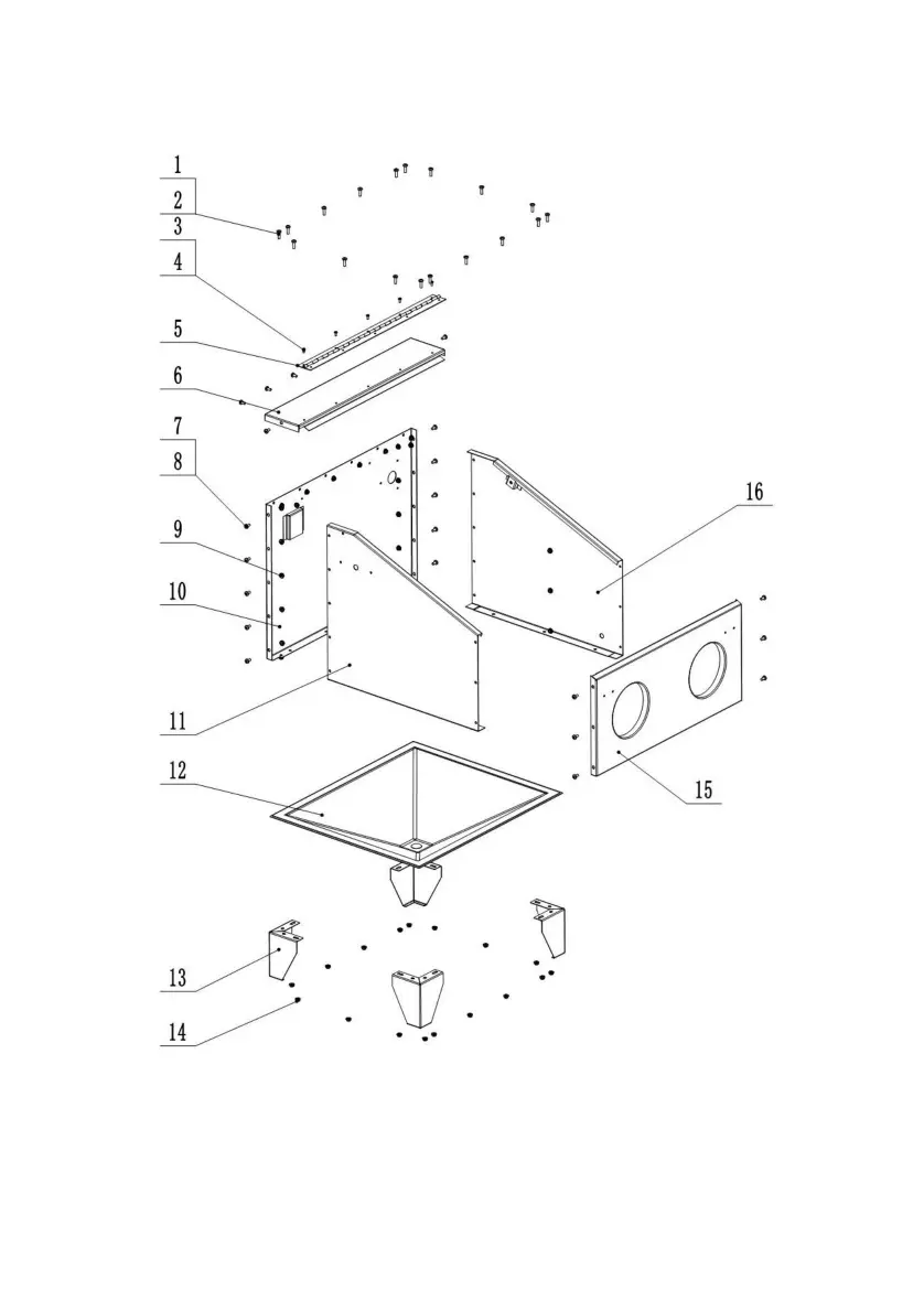
1. Verbinden Sie die linke Schrankplatte (Nr. 11), die rechte Schrankplatte (Nr. 16) mit der hinteren Schrankplatte (Nr.
10) mit einer M6*12-Schraube (Nr. 7), einer Unterlegscheibe (Nr. 8) und einer Mutter (Nr .8) . Verbinden Sie die
Frontplatte (Nr. 15) mit der linken und rechten Platte. Zum Schluss verbinden Sie die obere Platte (Nr. 6) mit den anderen
Schritt 2 Schrank zusammenbauen
- 8 -
Machine Translated by Google

Related product manuals