EasyManua.ls Logo

VEVOR SBC150 - Page 66

VEVOR SBC150
152 pages
Print Icon
To Next Page IconTo Next Page
To Next Page IconTo Next Page
To Previous Page IconTo Previous Page
To Previous Page IconTo Previous Page
Loading...
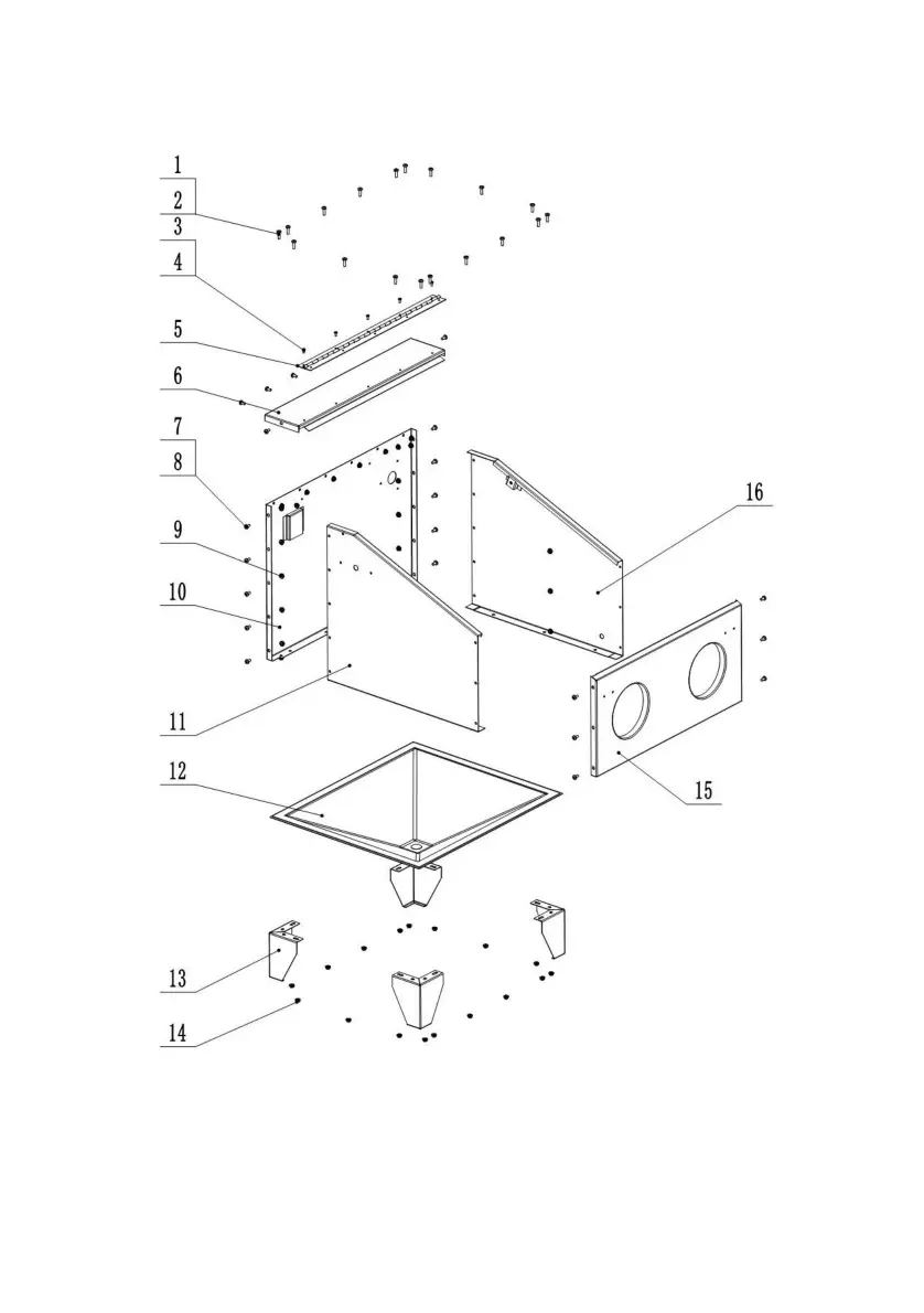
1. Collegare la piastra dell'armadietto sinistra (N. 11), la piastra dell'armadietto destra (N. 16) con la piastra
dell'armadietto posteriore (N. 10) mediante la vite M6*12 (N. 7), la rondella (N. 8) e il dado (N. .8) . Collegare
la piastra anteriore (N.15) con le piastre sinistra e destra. Infine, collega la piastra superiore (N. 6) con l'altra
Passaggio 2 Assemblare il mobile
-8-
Machine Translated by Google

Related product manuals