EasyManua.ls Logo

VEVOR SBC150 - Page 85

VEVOR SBC150
152 pages
Print Icon
To Next Page IconTo Next Page
To Next Page IconTo Next Page
To Previous Page IconTo Previous Page
To Previous Page IconTo Previous Page
Loading...
8
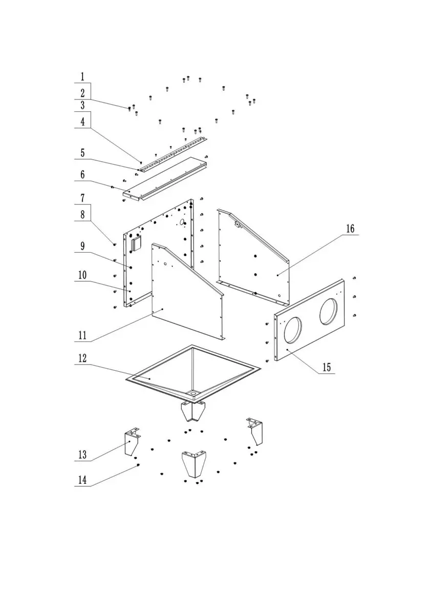
Paso2Armarelgabinete
1.Conectelaplacadelgabineteizquierdo(No.11),laplacadelgabinetederecho(No.16)conlaplacadel
gabinetetrasero(No.10)medianteuntornilloM6*12(No.7),unaarandela(No.8)yunatuerca(No..8).Conecte
laplacafrontal(No.15)conlasplacasizquierdayderecha.Finalmente,conectelaplacasuperior(No.6)conotras
Machine Translated by Google

Related product manuals