EasyManua.ls Logo

VEVOR SBC150 - Page 9

VEVOR SBC150
152 pages
Print Icon
To Next Page IconTo Next Page
To Next Page IconTo Next Page
To Previous Page IconTo Previous Page
To Previous Page IconTo Previous Page
Loading...
- 8 -
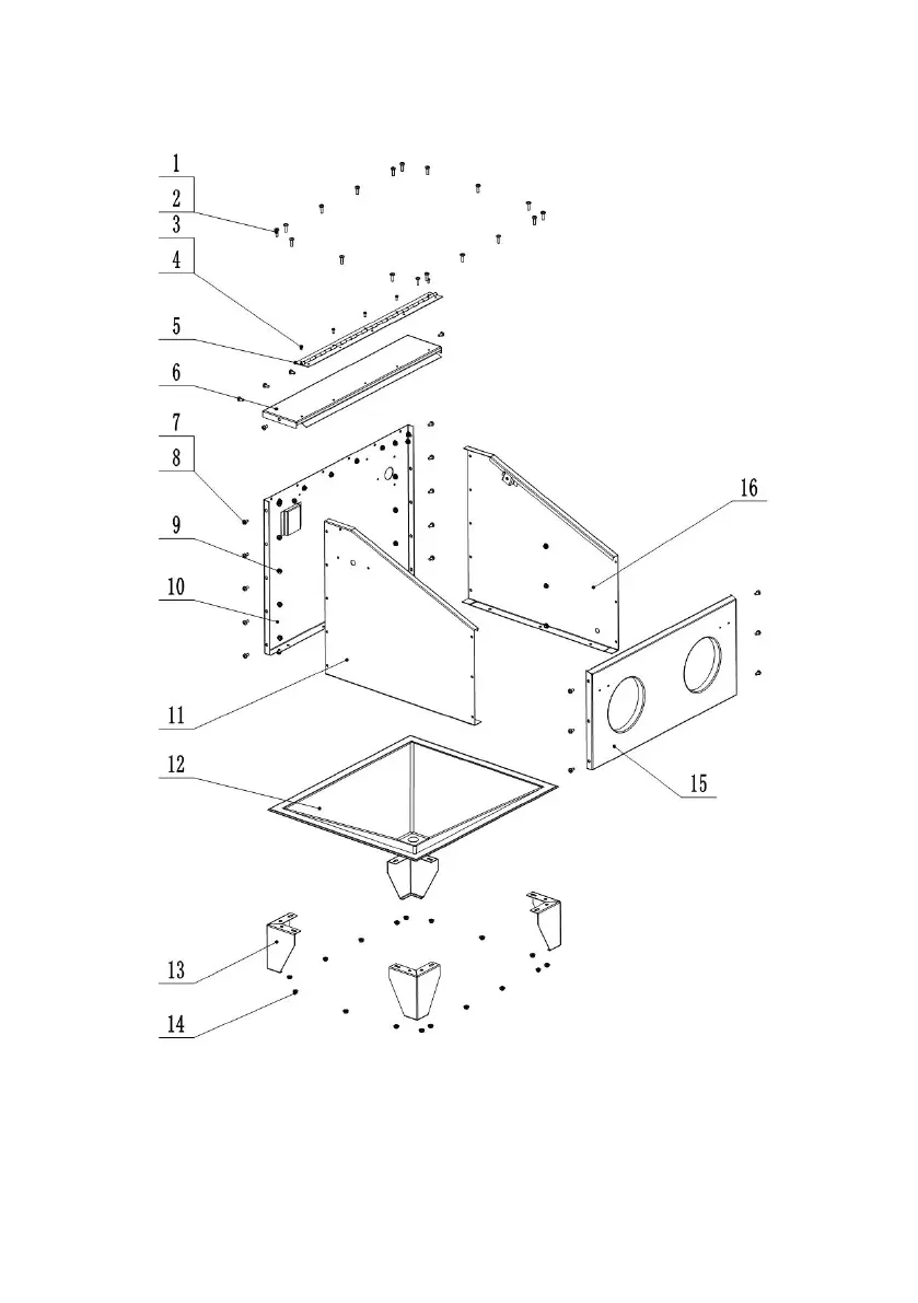
Step 2 Assemble cabinet
1. Connect left cabinet plate(No.11), right cabinet plate(No.16) with rear cabinet
plate(No.10) by M6*12 screw(No.7),washer(No.8) and nut (No.8) . Connect front
plate(No.15) with left and right plates. Finally, connect top plate(No.6) with other

Related product manuals