EasyManua.ls Logo

Viking FPIM515 - DOOR PANEL ATTACHMENT; Panel Mounting Procedure

Viking FPIM515
20 pages
Print Icon
To Next Page IconTo Next Page
To Next Page IconTo Next Page
To Previous Page IconTo Previous Page
To Previous Page IconTo Previous Page
Loading...
12
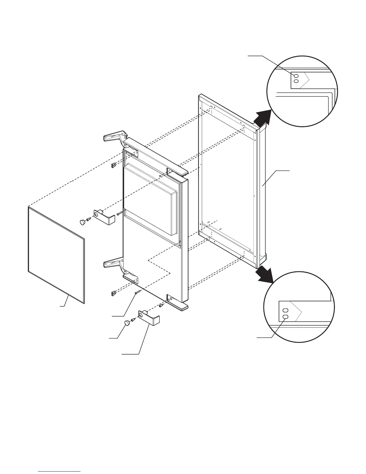
DOOR PANEL ATTACHMENT
Gasket
Accessory
Door Panel
Cover
Machine
Screw
Use Upper
Hole at the
Top
Use Lower
Hole at the
Bottom
Hole Plug

Other manuals for Viking FPIM515

Related product manuals