EasyManua.ls Logo

Viper 300+ - Type E Mercedes-Benz;Audi Locks; Type F One-Wire System

Viper 300+
22 pages
Print Icon
To Next Page IconTo Next Page
To Next Page IconTo Next Page
To Previous Page IconTo Previous Page
To Previous Page IconTo Previous Page
Loading...
© 1995,1997 Directed Electronics, Inc. Vista, CA 15 N432 1-98.PM6
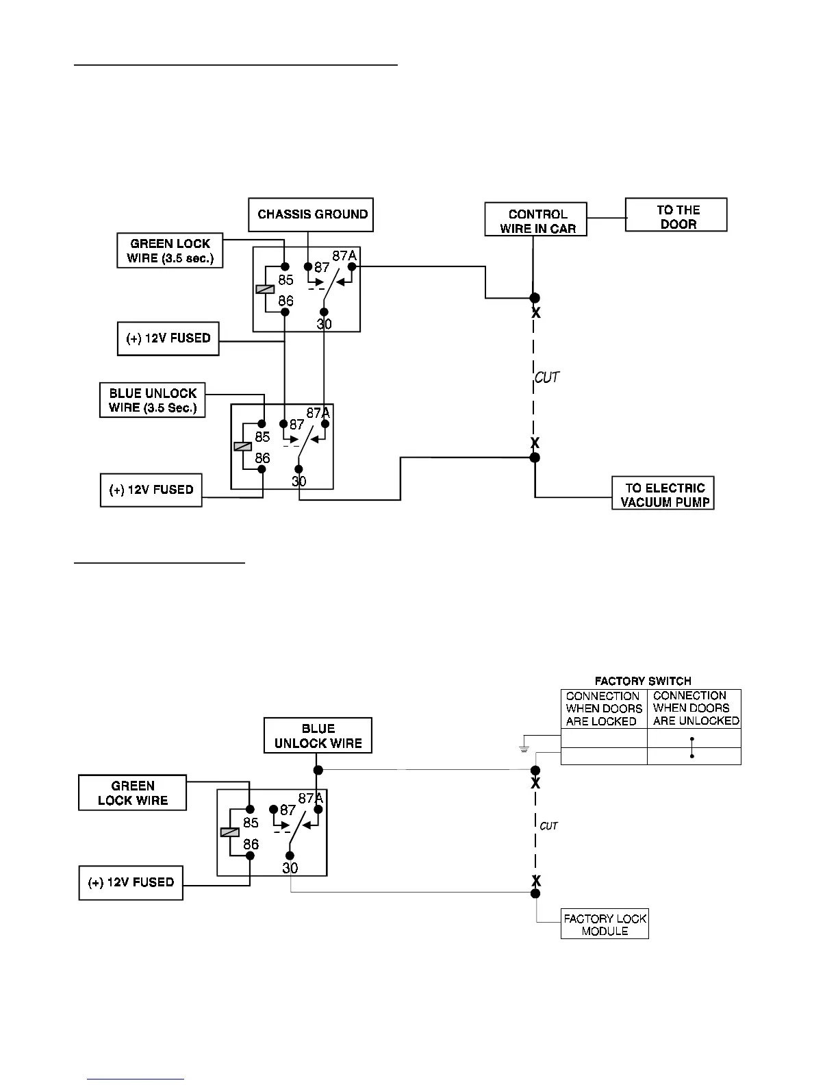
Type E - Mercedes-Benz and Audi (1985 & Newer)
Door locks are controlled by an electrically activated vacuum pump. Some Mercedes and Audis use a Type D
system. Test by locking doors from the passenger key cylinder. If all the doors lock, the vehicle's door lock
system can be controlled with just two relays (optional). The control wire can be found in either kick panel and will
show (+)12V when doors are unlocked and (-) ground when doors are locked.
To interface see diagram below. The system must be programmed for 3.5 second door lock pulses (see
Opera-
tion-Settings Learn Routine
).
Type F - One-Wire System
This system usually requires a negative pulse to unlock, and cutting the wire to lock the door. In some vehicles,
these are reversed. It is found in late-model Nissan Sentras, some Nissan 240SX, and Nissan 300ZX 1992-up. It
is also found in some Mazda MPV and Mitsubishi models.
One relay (optional) is used to interface to this type of system as follows:

Related product manuals