EasyManua.ls Logo

Viper 500 ESP - Electrically Activated Vacuum (Type E)

Viper 500 ESP
40 pages
Print Icon
To Next Page IconTo Next Page
To Next Page IconTo Next Page
To Previous Page IconTo Previous Page
To Previous Page IconTo Previous Page
Loading...
© 1999 Directed Electronics, Inc. Vista, CA 21
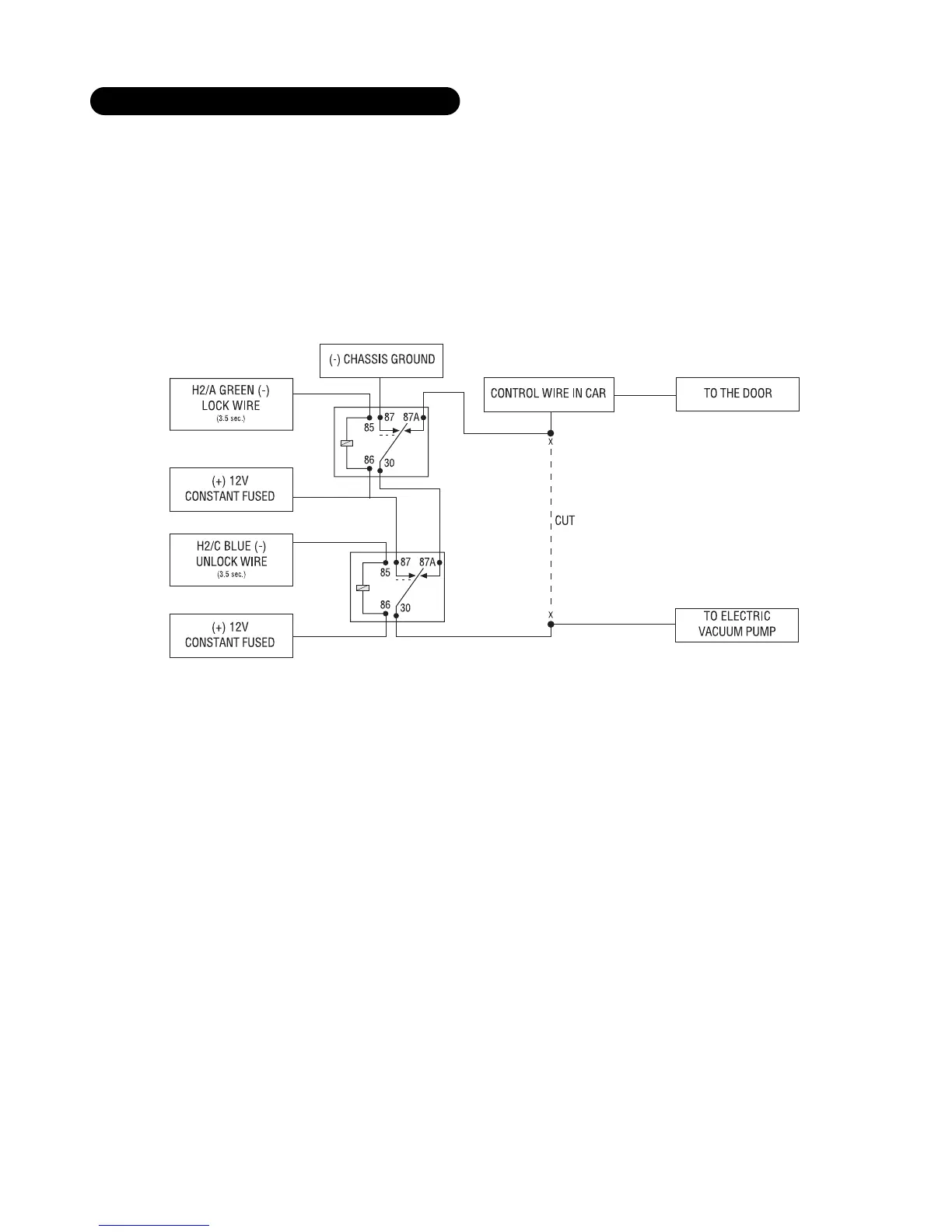
Door locks are controlled by an electrically activated vacuum pump. Some Mercedes and Audi models use a Type
D system. Test by locking doors from the passenger key cylinder. If all the doors lock, the vehicle's door lock
system can be controlled with just two relays (optional). The control wire can be found in either kick panel and
will show (+)12V when doors are unlocked and (-) ground when doors are locked.
To interface, see diagram below. The system must be programmed for 3.5 second door lock pulses. (See
System Features Learn Routine section of this guide.)
type E: mercedes-benz and audi (1985 and newer)

Table of Contents

Related product manuals