EasyManua.ls Logo

Vtron L-PH4618 - Connection Diagram for Display Panel (2× 2)

Default Icon
34 pages
Print Icon
To Next Page IconTo Next Page
To Next Page IconTo Next Page
To Previous Page IconTo Previous Page
To Previous Page IconTo Previous Page
Loading...
User Manual VTRON LCD Display Panel
- 21 -
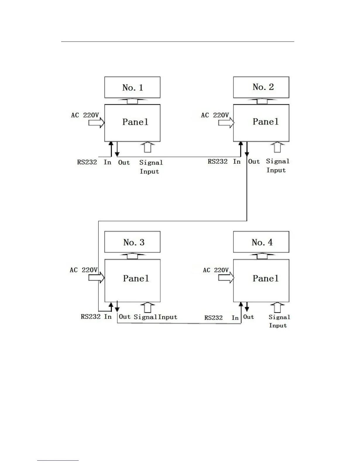
4. Connection Diagram for Display Panel (2×2)