EasyManua.ls Logo

Wacker Neuson EH 6 - Page 50

Wacker Neuson EH 6
62 pages
Print Icon
To Next Page IconTo Next Page
To Next Page IconTo Next Page
To Previous Page IconTo Previous Page
To Previous Page IconTo Previous Page
Loading...
10 Maintenance EH 6, EHB 7
50
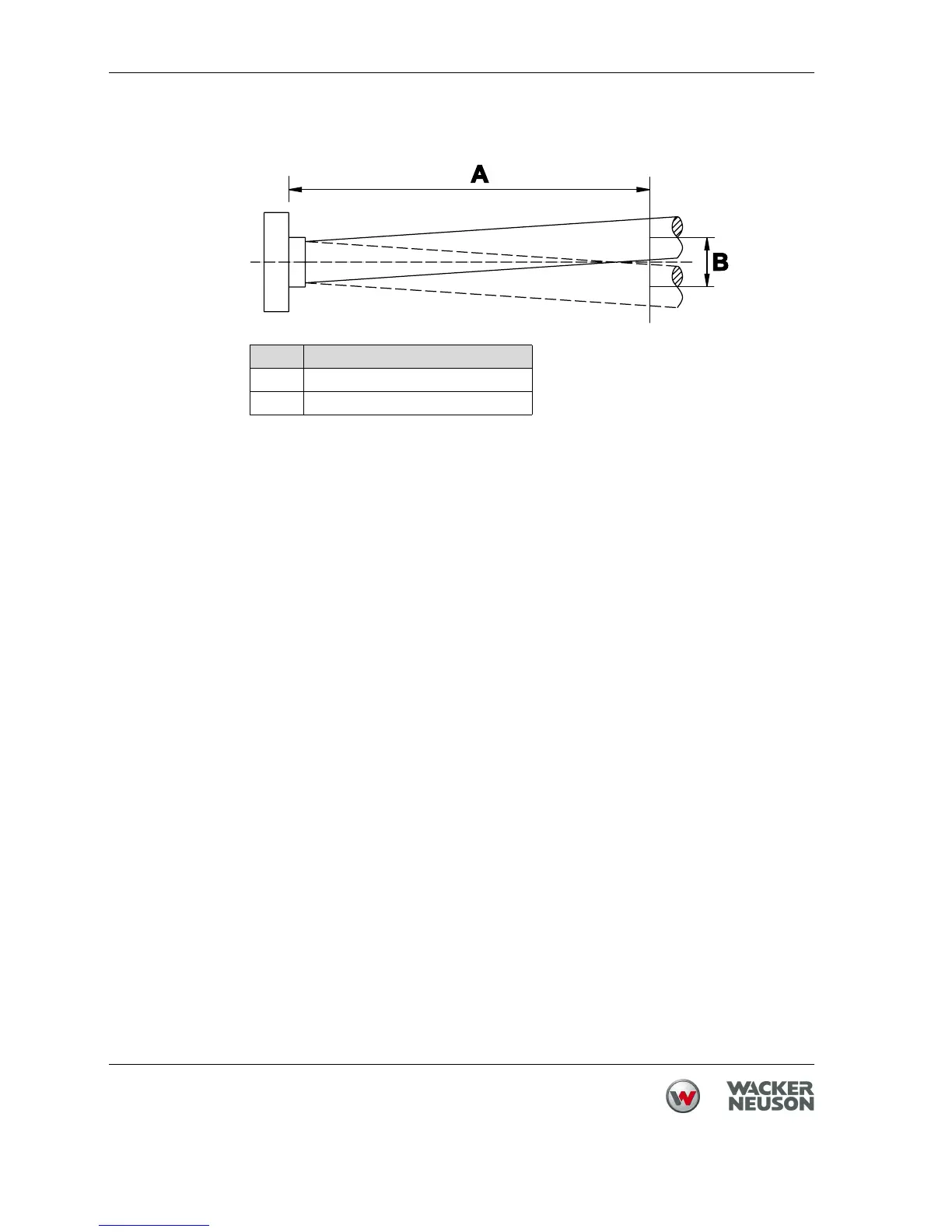
Checking the tool holder for wear
1. Insert the tool.
Note: Use a new tool to measure only the wear of the tool holder and not the
wear of the tool.
2. Measure the tool play 200 mm from insertion point.
Play may amount to max. 6 mm.
If the play exceeds 6 mm, the tool holder must be replaced.
Item Value
A 200 mm
B Max. 6 mm

Related product manuals