EasyManua.ls Logo

Wacker Neuson G 240

Wacker Neuson G 240
200 pages
To Next Page IconTo Next Page
To Next Page IconTo Next Page
To Previous Page IconTo Previous Page
To Previous Page IconTo Previous Page
Loading...
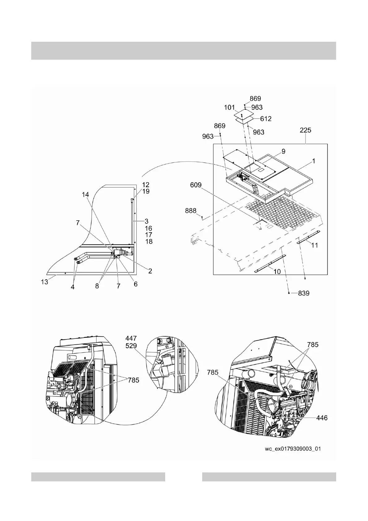
Radiator Shutter
Kühlerabdeckung
G 240
Persiana del Radiador
Obturateur du Radiateur
94
0620301 - 110
Plantas de luz wacker G 240s | VENTA y RENTA
Autek Maquinaria ¡Llámenos! (55) 5392-7077

Table of Contents

Other manuals for Wacker Neuson G 240