EasyManua.ls Logo

WarmFlow 90/120 - Goldbird Control Panel Wiring

Default Icon
52 pages
Print Icon
To Next Page IconTo Next Page
To Next Page IconTo Next Page
To Previous Page IconTo Previous Page
To Previous Page IconTo Previous Page
Loading...
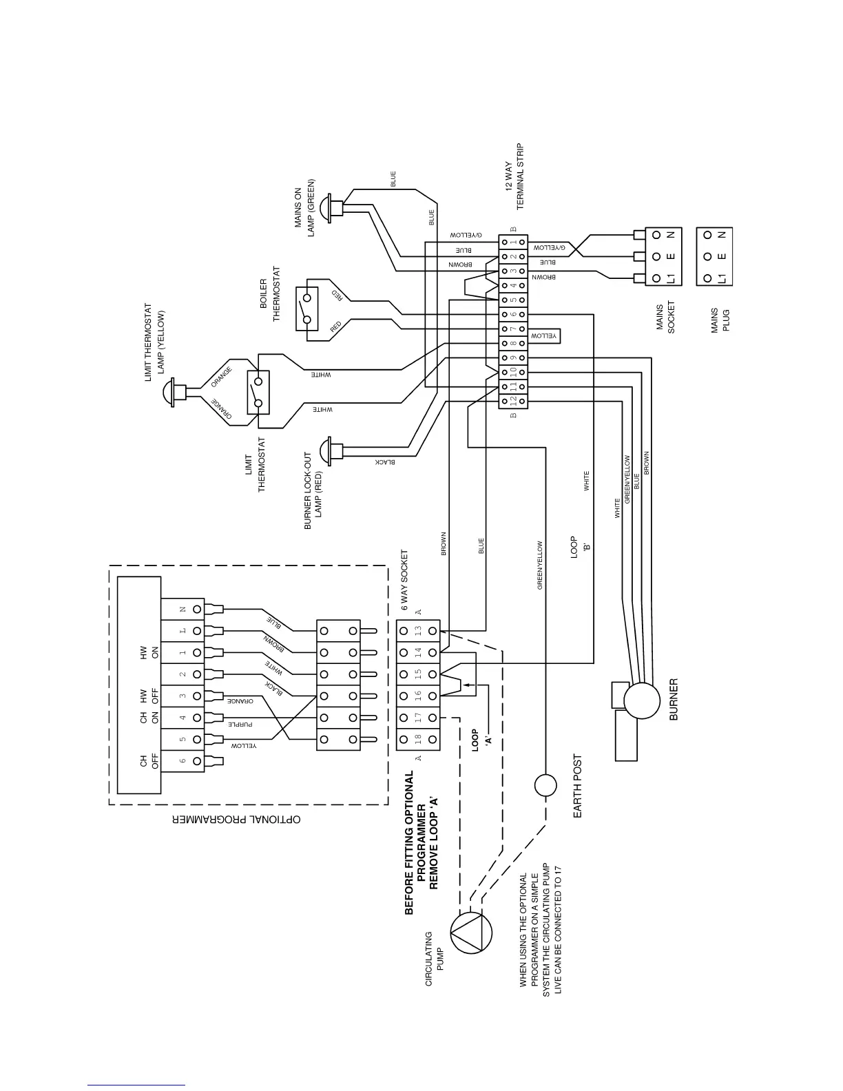
5.3 Control Panel Wiring (Goldbird Boilers)
Page 15

Table of Contents

Other manuals for WarmFlow 90/120

Related product manuals