EasyManua.ls Logo

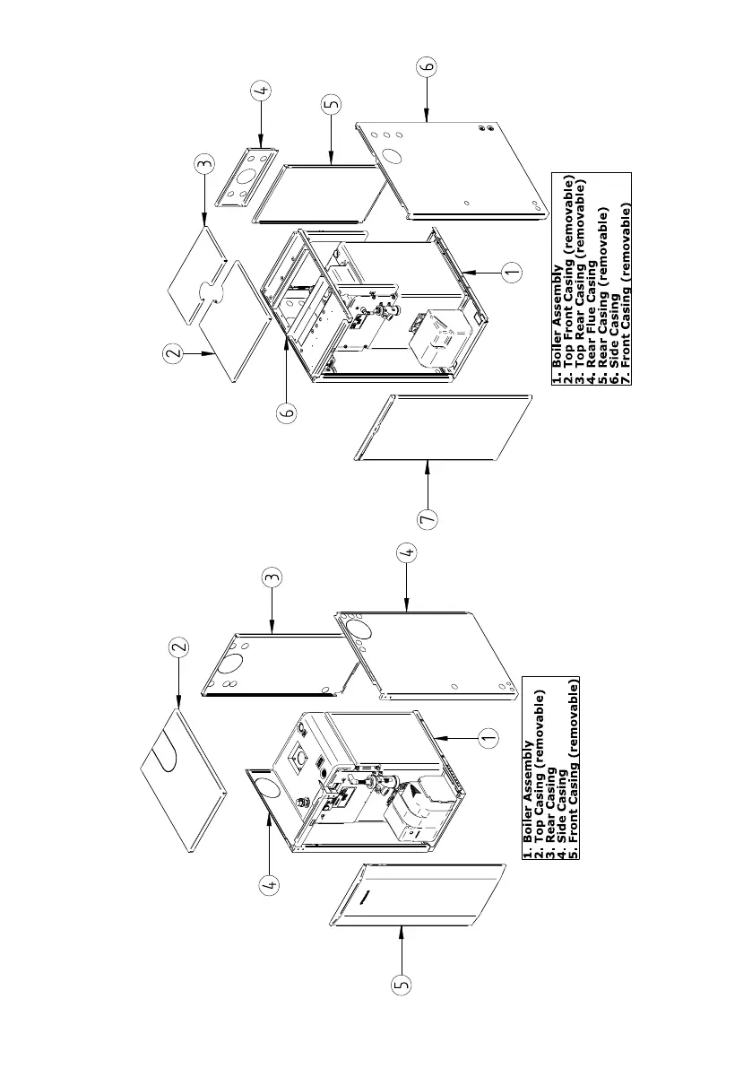
WarmFlow Agentis E21 - I-Series (Internal) Casing

Default Icon
136 pages
Print Icon
To Next Page IconTo Next Page
To Next Page IconTo Next Page
To Previous Page IconTo Previous Page
To Previous Page IconTo Previous Page
Loading...
Page 30
4.5.2 I-Series (Internal) Casing
21, 26 & 33 Models
44 Models

Table of Contents

Related product manuals