EasyManua.ls Logo

Wayne HSG400 - Page 30

Wayne HSG400
52 pages
Print Icon
To Next Page IconTo Next Page
To Next Page IconTo Next Page
To Previous Page IconTo Previous Page
To Previous Page IconTo Previous Page
Loading...
30
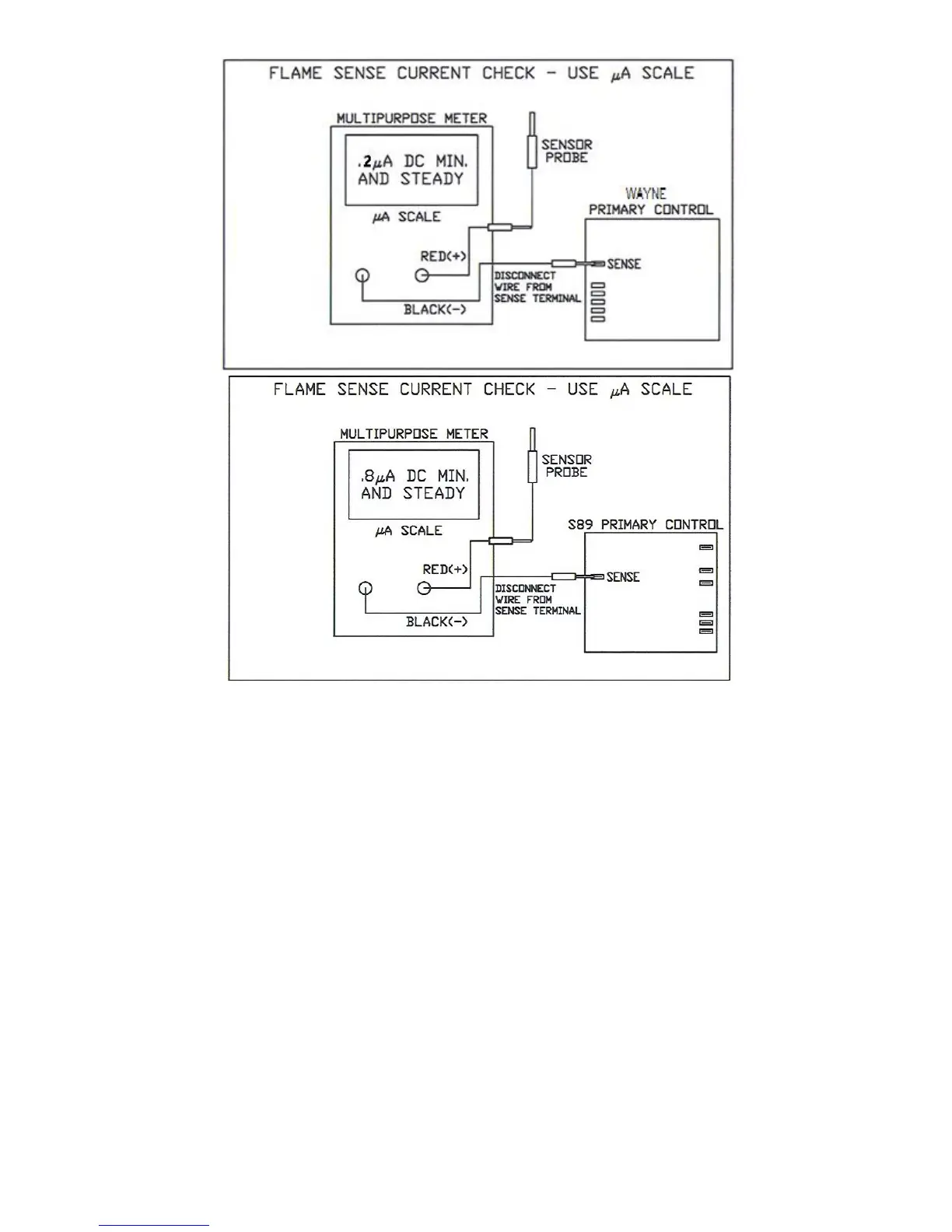
Figure 20: Flame Current Measurement, Top: Wayne control; Bottom: Honeywell control

Other manuals for Wayne HSG400

Related product manuals