EasyManua.ls Logo

Weider PRO 4250 - Page 8

Weider PRO 4250
37 pages
Print Icon
To Next Page IconTo Next Page
To Next Page IconTo Next Page
To Previous Page IconTo Previous Page
To Previous Page IconTo Previous Page
Loading...
8
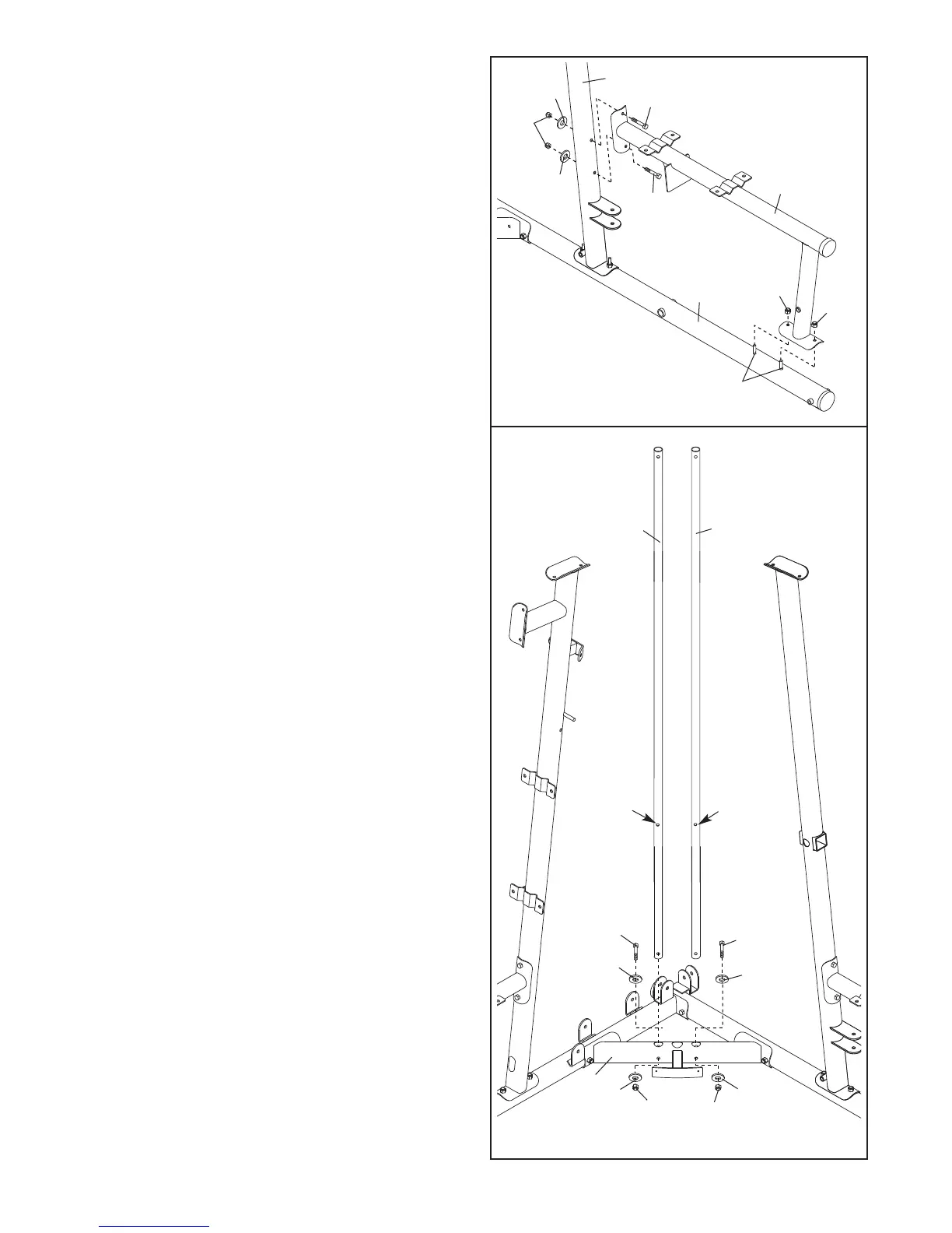
7. Attach the Left Seat Frame (27) to the Left Base
(25) with the two indicated M8 x 72mm Carriage
B
olts (69) and two M8 Nylon Locknuts (91). D
o
not tighten the Locknuts yet.
Attach the Left Seat Frame (27) to the Left
Upright (26) with two M8 x 77mm Bolts (82), two
M8 Washers (98), and two M8 Nylon Locknuts
(91). Do not tighten the Locknuts yet.
8. Orient the Weight Guides (44) with the indicated
holes closer to the bottom. Attach the Weight
Guides inside of the Center Base (52) with two
M8 x 77mm Bolts (82), four M8 Washers (98),
and two M8 Nylon Locknuts (91).
7
8
2
7
82
8
2
25
26
91
69
91
98
98
9
1
44
44
Hole
Hole
82
82
98
98
98
98
52
91
91

Related product manuals