EasyManua.ls Logo

WeiderPro Pro 420 - Page 12

WeiderPro Pro 420
20 pages
Print Icon
To Next Page IconTo Next Page
To Next Page IconTo Next Page
To Previous Page IconTo Previous Page
To Previous Page IconTo Previous Page
Loading...
12
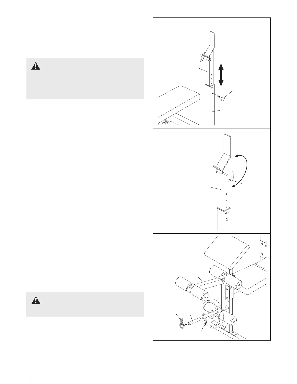
ADJUSTING THE UPRIGHTS
To adjust the Uprights (1), unscrew the M10 x 62mm
Adjustment Knobs (30) and slide the Uprights to the
desired position. Re-tighten the Adjustment Knobs
into the Upright Bases (7) and the Uprights.
USING THE BARBELL HOOKS
To change weights while your barbell (not included) is
on the Uprights (1), secure the barbell with the
Barbell Hooks (50, 49 [not shown]). To do this, rotate
the Barbell Hooks over the barbell. This will reduce
the possibility of the barbell tipping while you are
changing weights.
7
1
50
1
30
WARNING: Always set both
Uprights (1) at the same height. Make sure the
M10 x 62mm Adjustment Knobs (30) are fully
tightened into the Upright Bases (7) and the
Uprights.
ATTACHING WEIGHTS TO THE LEG LEVER
If you will be using 28mm weights (not included), first
slide the Weight Tube Adaptors (53) onto the weight
tube of the Leg Lever (4).
To use the Leg Lever (4), slide the desired amount of
weight (not included) onto the Weight Tube (41).
Secure the weights with the Weight Clip (52).
WARNING: Do not place more
than 23 kg (50 lbs.) on the Leg Lever (4).
52
53
4
Weight

Related product manuals