EasyManua.ls Logo

Welch 8905 - Section 10: DRAWINGS and SPEED CURVE; Speed Curve

Default Icon
46 pages
Print Icon
To Next Page IconTo Next Page
To Next Page IconTo Next Page
To Previous Page IconTo Previous Page
To Previous Page IconTo Previous Page
Loading...
28
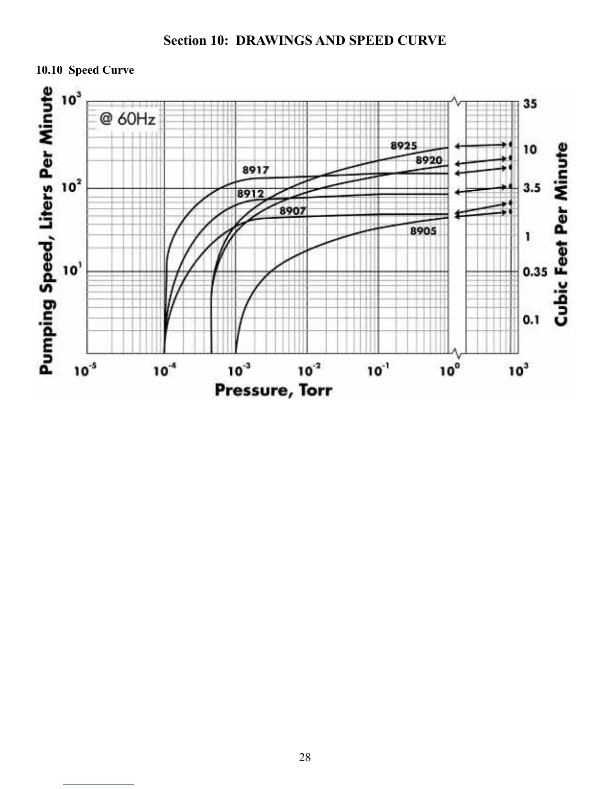
Section 10: DRAWINGS AND SPEED CURVE
10.10 Speed Curve

Table of Contents

Related product manuals