EasyManua.ls Logo

Whirlpool WFG505M0BB - Spécifications Électriques

Whirlpool WFG505M0BB
32 pages
Print Icon
To Next Page IconTo Next Page
To Next Page IconTo Next Page
To Previous Page IconTo Previous Page
To Previous Page IconTo Previous Page
Loading...
20
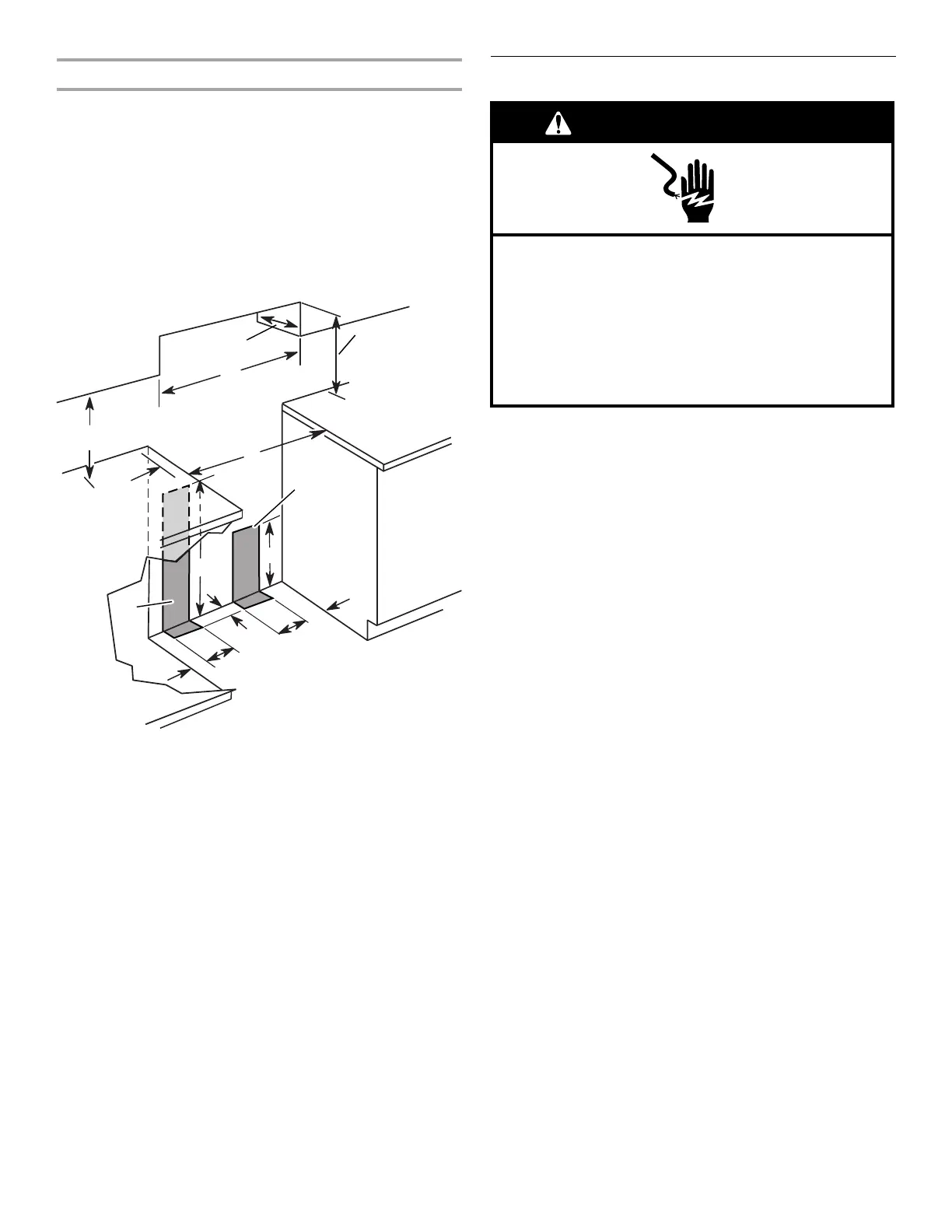
Dimensions des placards
Les dimensions de l'espace d'installation entre les placards
correspondent à une installation entre des placards de 24"
(61,0 cm) avec plan de travail de 25" (64,0 cm) de profondeur et
hauteur de 36" (91,4 cm).
Si la profondeur du placard est supérieure à 24" (61,0 cm), le
châssis du four doit se prolonger au-delà des façades des
placards de ½" (1,3 cm) minimum.
IMPORTANT : En cas d'installation d'une hotte ou d'un
ensemble hotte/micro-ondes au-dessus de la cuisinière, suivre
les instructions fournies avec la hotte concernant les dimensions
de dégagement à respecter au-dessus de la surface de la table
de cuisson.
*REMARQUE : Distance de séparation minimale de 24" (61,0 cm)
lorsque le fond d'un placard de bois ou de métal est protégé par
une planche ignifugée d'au moins ¼" (0,64 cm) recouverte d'une
feuille métallique d'épaisseur égale ou supérieure à : acier
calibre 28 MSG, acier inoxydable 0,015" (0,4 mm), aluminium
0,024" (0,6 mm), ou cuivre 0,020" (0,5 mm).
Distance de séparation minimale de 30" (76,2 cm) ou plus entre
le dessus de la table de cuisson et le fond d'un placard de bois
ou de métal non protégé.
Spécifications électriques
IMPORTANT :
La cuisinière doit être électriquement reliée à la terre
conformément aux prescriptions des codes et règlements locaux;
en l'absence de code local, respecter les prescriptions du code
national en vigueur : National Electrical Code, ANSI/NFPA 70.
Si un conducteur distinct de liaison à la terre est utilisé (lorsque le
code en vigueur le permet), on recommande qu'un électricien
qualifié vérifie la qualité de la liaison à la terre.
On peut obtenir un exemplaire du code national en vigueur à
l'adresse suivante :
National Fire Protection Association
1 Batterymarch Park,
Quincy, MA 02169-7471
CSA International
8501 East Pleasant Valley Road
Cleveland, OH 44131-5575
L'appareil doit être alimenté uniquement par un circuit de
120 V, 60 Hz, CA seulement, 15 A protégé par fusibles. On
recommande également l'emploi de fusibles temporisés ou
de disjoncteurs. On recommande que cette cuisinière soit
alimentée par un circuit indépendant.
Cette cuisinière est équipée d'un cordon d'alimentation
électrique avec une fiche à trois alvéoles de mise à la terre.
Pour minimiser le risque possible de choc électrique, le cordon
doit être branché dans une prise à 3 alvéoles reliée à la terre.
Les dispositifs d'allumage électronique peuvent fonctionner
correctement dans une plage de tension d'alimentation
étendue, mais il est nécessaire de respecter la polarité
stipulée et d'établir une liaison à la terre adéquate. Vérifier
que la prise de courant fournit une tension de 120 V et qu'elle
est correctement reliée à la terre.
Cette cuisinière est équipée d'un système d'allumage
électronique qui ne fonctionnera pas si l'appareil est branché
dans une prise dont la polarité n'est pas correcte.
Le branchement de cette cuisinière sur une prise électrique
protégée par un disjoncteur différentiel n'affectera en rien ses
performances. Toutefois, le déclenchement intempestif du
disjoncteur différentiel en utilisation normale peut se produire
du fait de la nature des cuisinières à gaz à allumage
électronique.
On trouvera un schéma de câblage à l’arrière de la cuisinière,
dans un sachet de plastique transparent.
REMARQUE : Le châssis métallique de la cuisinière doit être
relié à la terre pour que le tableau de commande puisse
fonctionner correctement. Si le châssis métallique de la
cuisinière n'est pas relié à la terre, aucune touche du tableau
de commande ne peut fonctionner. En cas de doute quant à
la qualité de la liaison à la terre du châssis de la cuisinière,
consulter un électricien qualifié.
A. 18" (45,7 cm) de dégagement minimum entre le placard latéral
supérieur et le plan de travail
B. Profondeur maximale des placards supérieurs : 13" (33,0 cm)
C. Largeur minimale de l'ouverture : 30" (76,2 cm)
D. Pour la distance libre minimale vers la partie supérieure de la table
de cuisson, voir la REMARQUE*
E. Largeur minimale de l'ouverture : 30
¹⁄₈
" (76,5 cm)
F. Il est recommandé d'effectuer l'installation de la prise de courant
électrique dans cette zone grisée.
G. Il est recommandé d'effectuer l'installation de la canalisation de
gaz rigide dans cette zone grisée.
H. 2" (5,1 cm) min. de distance de dégagement vers le mur latéral ou
autre matériau combustible
I. 24" (61,0 cm)
J. 10" (25,4 cm)
K. 8" (20,3 cm)
L. 5" (12,7 cm)
M 2" (5,1 cm)
N. 3" (7,6 cm)
A
B
C
D
E
F
G
H
J
K
M
L
L
N
I
AVERTISSEMENT
Risque de choc électrique
Brancher sur une prise à 3 alvéoles reliée à la terre.
Ne pas enlever la broche de liaison à la terre.
Ne pas utiliser un adaptateur.
Ne pas utiliser un câble de rallonge.
Le non-respect de ces instructions peut causer
un décès, un incendie ou un choc électrique.

Related product manuals