EasyManua.ls Logo

Williams 3509622 - Motorized Rear Outlet Parts; Replacement Parts List

Williams 3509622
40 pages
Print Icon
To Next Page IconTo Next Page
To Next Page IconTo Next Page
To Previous Page IconTo Previous Page
To Previous Page IconTo Previous Page
Loading...
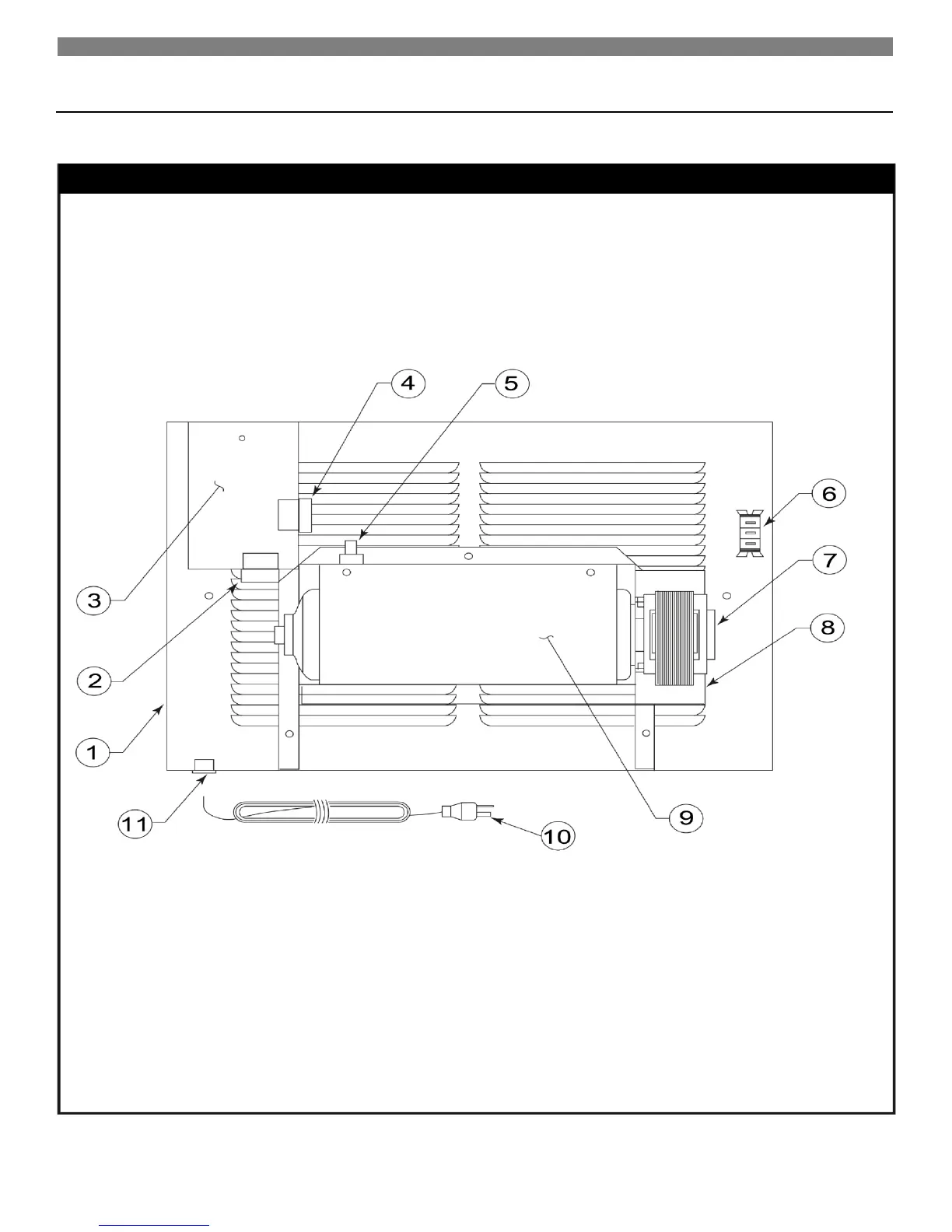
Motorized Rear Outlet Replacement Parts
Motorized Rear Outlet – Models 6919 and 6920
-- and 6920

Related product manuals