EasyManua.ls Logo

Wilo AF 22 - Page 26

Wilo AF 22
Print Icon
To Next Page IconTo Next Page
To Next Page IconTo Next Page
To Previous Page IconTo Previous Page
To Previous Page IconTo Previous Page
Loading...
ENGLISH
20
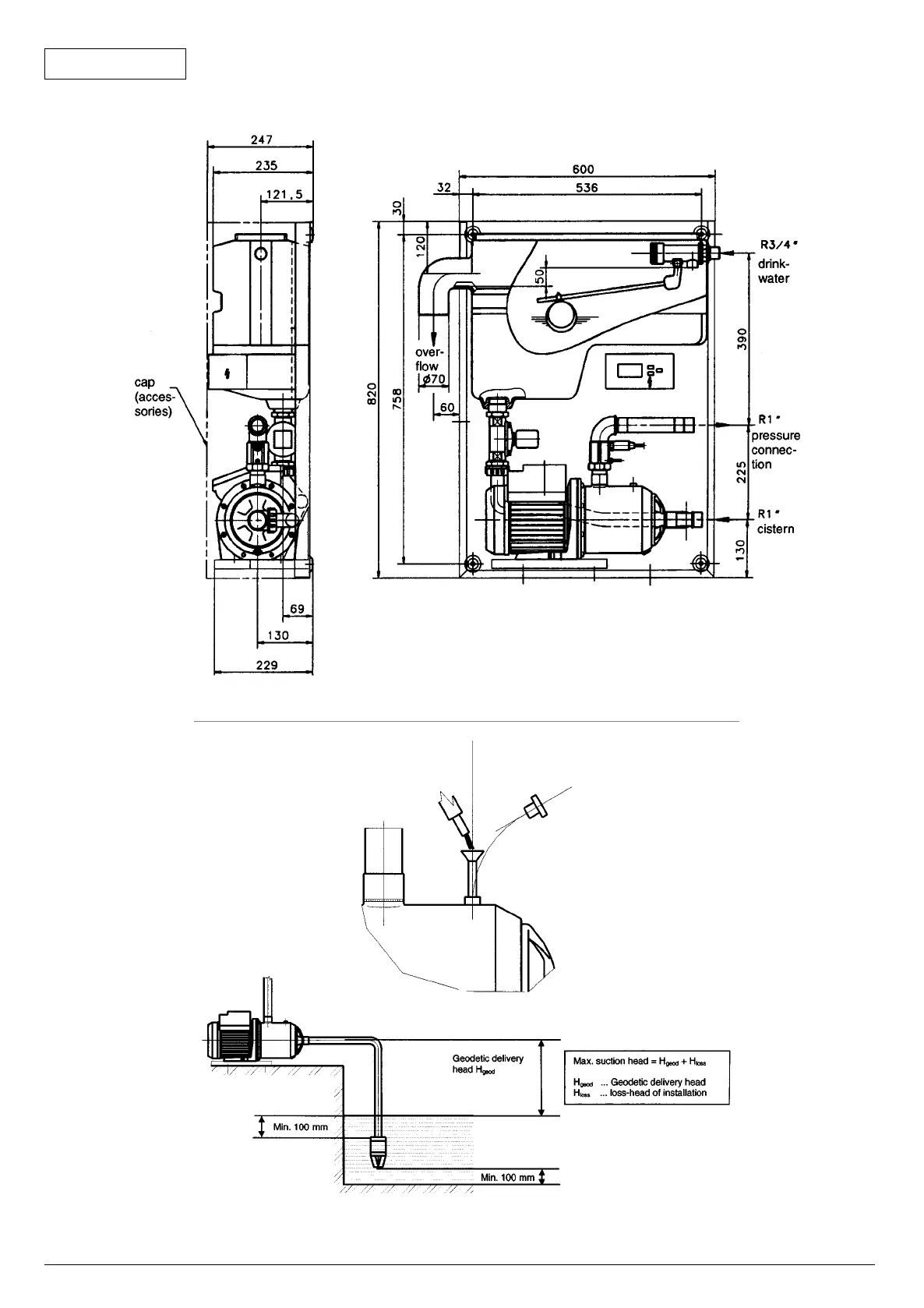
Fig. 5: Hydraulic connection diagram
Fig. 6: Filling the Wilo-MultiCargo pump
29135_Wilo_RainAF22_GB 26.05.2000 8:25 Uhr Seite 20 (1,1)

Related product manuals