EasyManua.ls Logo

Wilo AF 22 - Figuur 5: Schema Met de Hydraulische Aansluitingen; Figuur 6: Vullen Van de Wilo-Multiicargo Pomp

Wilo AF 22
Print Icon
To Next Page IconTo Next Page
To Next Page IconTo Next Page
To Previous Page IconTo Previous Page
To Previous Page IconTo Previous Page
Loading...
NEDERLANDS
44
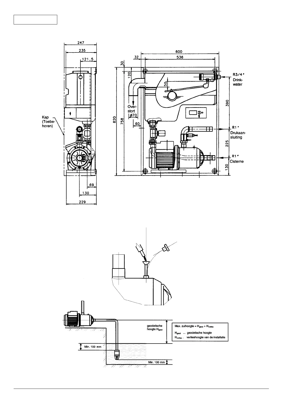
Figuur 5. Schema met hydraulische aansluitingen
Figuur 6. Vullen van de Wilo-MultiCargo pomp
29135_Wilo_RainAF22_NL 26.05.2000 8:48 Uhr Seite 44 (1,1)

Related product manuals