EasyManua.ls Logo

Xerox WORKCENTRE 7755

Xerox WORKCENTRE 7755
272 pages
To Next Page IconTo Next Page
To Next Page IconTo Next Page
To Previous Page IconTo Previous Page
To Previous Page IconTo Previous Page
Loading...
Устранение неисправностей
Многофункциональный принтер WorkCentre 7755/7765/7775
Руководство пользователя
227
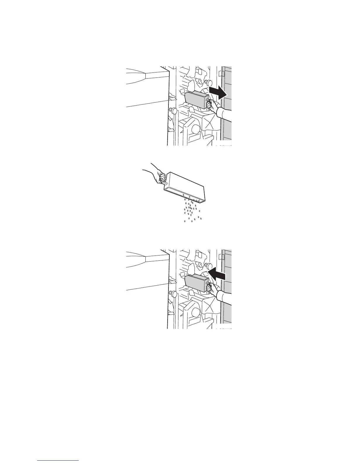
2. Извлеките сборник отходов перфорации в зоне R4.
3. Опорожните сборник.
4. Вставьте сборник и задвиньте его в финишер до упора.
5. Найдите и удалите всю застрявшую бумагу.
6. Закройте дверцу финишера.
wc77xx-121
wc77xx-122
wc77xx-151

Table of Contents

Other manuals for Xerox WORKCENTRE 7755

Related product manuals