EasyManua.ls Logo

Xerox WORKCENTRE 7755

Xerox WORKCENTRE 7755
252 pages
To Next Page IconTo Next Page
To Next Page IconTo Next Page
To Previous Page IconTo Previous Page
To Previous Page IconTo Previous Page
Loading...
Problemløsning
WorkCentre 7755/7765/7775 Multifunktionsprinter
Betjeningsvejledning
210
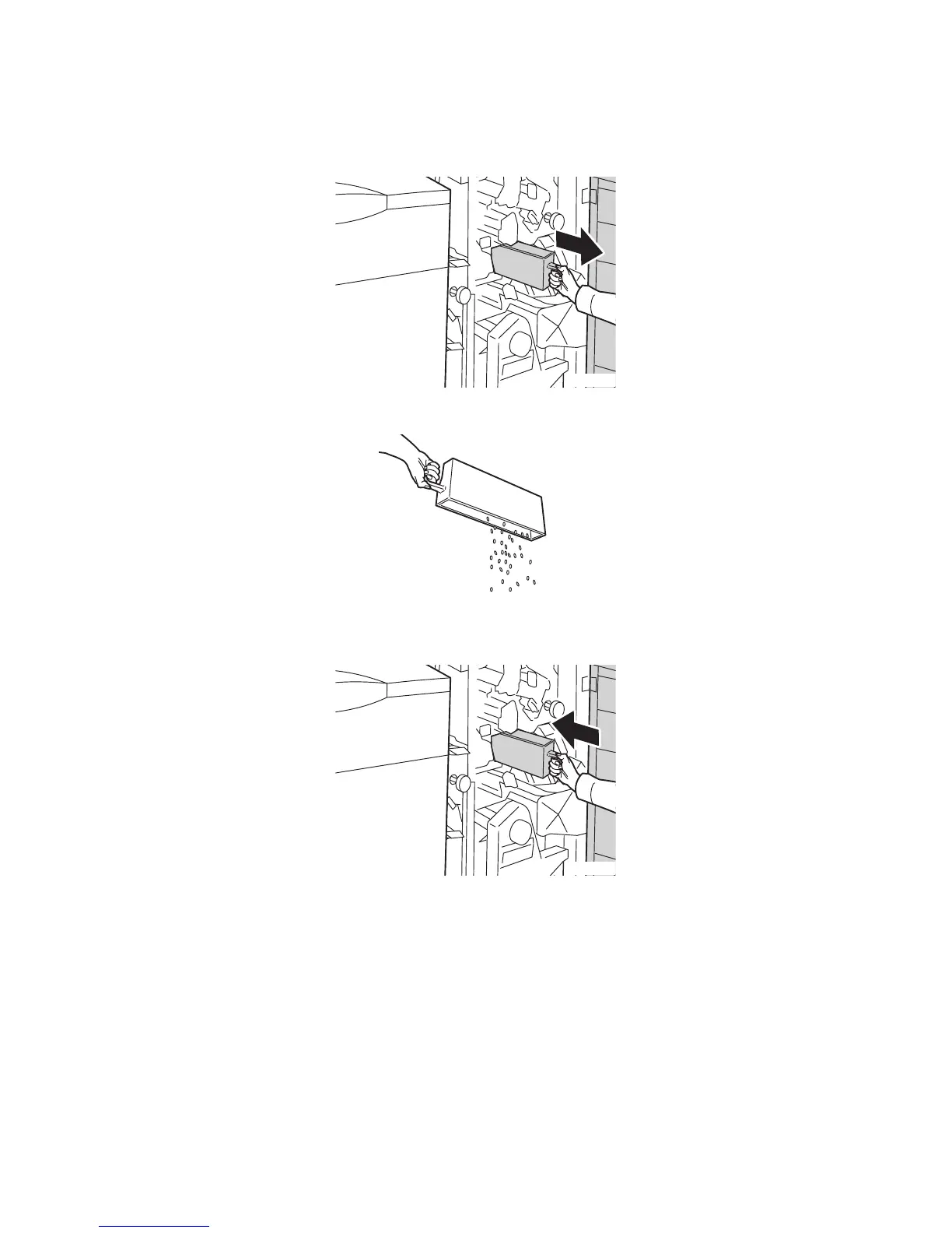
2. Fjern beholderen til udstukne huller ved R4.
3. Tøm beholderen.
4. Indfør beholderen, og skub den helt ind i efterbehandleren.
5. Find og udred eventuelle papirstop.
6. Luk efterbehandlerens låge.
wc77xx-121
wc77xx-122
wc77xx-151

Table of Contents

Other manuals for Xerox WORKCENTRE 7755

Related product manuals