EasyManua.ls Logo

Yamaha 170 - Circuit Diagrams and Wiring; Circuit Diagram; Wiring Diagram; Technical Specifications

Yamaha 170
4 pages
Print Icon
To Previous Page IconTo Previous Page
To Previous Page IconTo Previous Page
Loading...
RBX170
4
SPECIFICATIONS
STANDARD SPECIFICA TIONS
Scale Length..............................863.6mm
Body-Neck Construction .........Bolt On
Length........................................ 1135.0mm
Width ......................................... 327.0mm
Net Weight ................................3.15kg
COLOR
Body
BL ............................................Black
RM........................................... Red Metallic
DBM ....................................... Dark Blue Metallic
Neck
NS............................................ Natural Satin
BODY
Material......................................Agatis
Body Depth ...............................41mm
FINGERBOARD
Material......................................Sonokeling
Fingerboard Width ................... 0-F 40.0mm, 12-F 56.4mm
No. of Frets................................ 24
NECK
Material......................................Maple
Neck Thickness ........................ 1-F 21.0mm, 12-F 24.4mm
PARTS
Hardware ...................................Chrome Plated
Nut..............................................Urea
Bridge ........................................Fender Type: 1214B (Chrome)
Strings........................................ H4030
CONTROLS
Volume .......................................15A 250K x 2
Tone ........................................... 05A 250K x 1
PICKUPS
Front .......................................... Single Coil Split Type
Rear ............................................Single Coil
Magnet
Front/Rear ............................. Ceramic
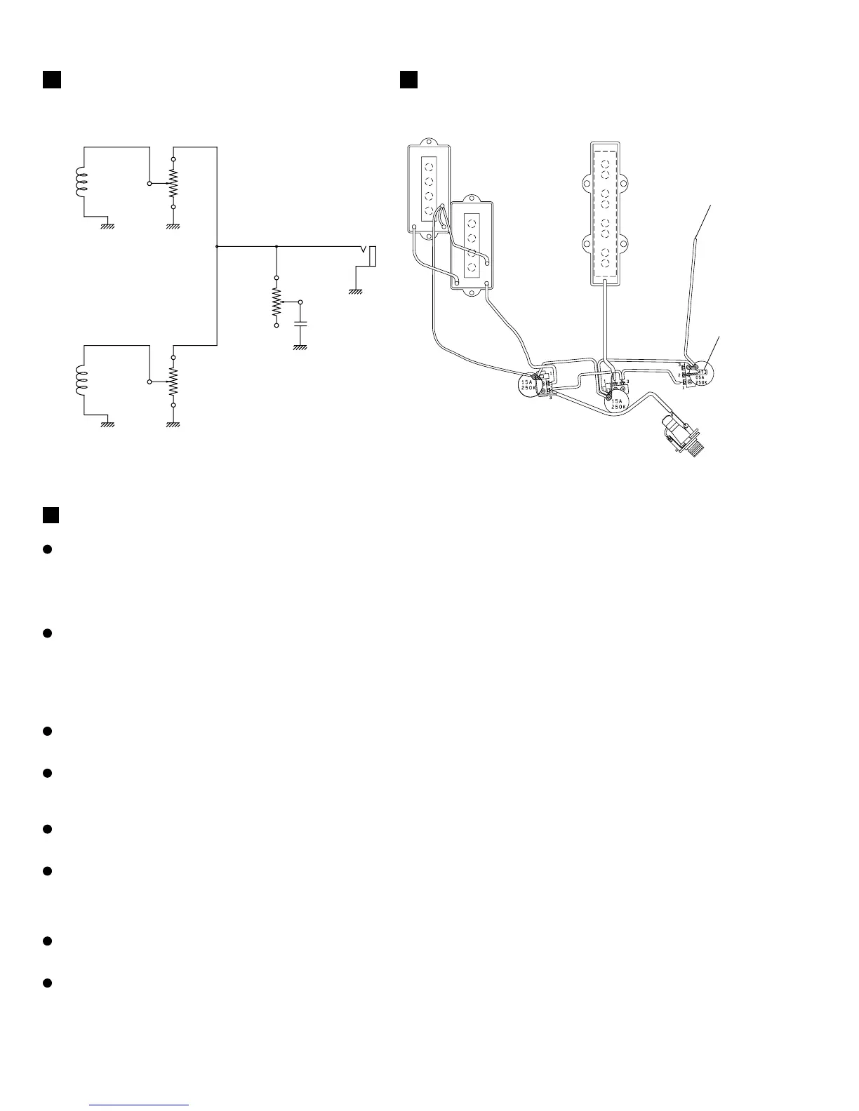
WIRINGCIRCUIT DIAGRAM
FRONT PICKUP
REAR PICKUP REAR VOLUME
FRONT VOLUME
MASTER TONE OUTPUT
05A 250K
15A 250K
BPPJ-03
1
2
3
3
2
1
1
3
2
15A 250K
0.047uF
FRONT PICKUP REAR PICKUP
BL RE
OUTPUT JACK
FRONT VOLUME
15A 250K
REAR VOLUME
15A 250K
MASTER TONE
05A 250K
0.047uF
to Bridge

Related product manuals