EasyManua.ls Logo

Yamaha CRX-E500 - Page 22

Yamaha CRX-E500
47 pages
Print Icon
To Next Page IconTo Next Page
To Next Page IconTo Next Page
To Previous Page IconTo Previous Page
To Previous Page IconTo Previous Page
Loading...
CDC-E500
CDC-E500
22
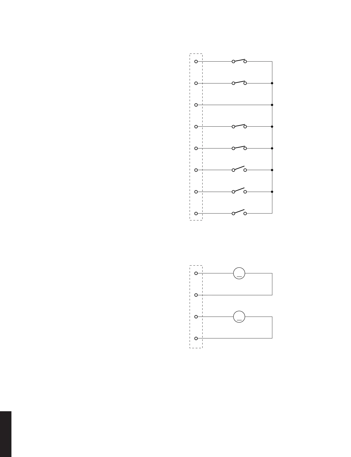
CIRCUIT DIAGRAM
S8BEH
Pin No.
8SLIDER REVERSE POSITION SW
Normal open SW
SW8
M
7SLIDER FORWARD POSITION SW
Normal open SW
SW7
6DRAWER OPEN/CLOSE DETECT SW
Normal open SW
SW6
5CARRIAGE NUMBER SW
Normal close SW
SW4
4CARRIAGE NUMBER SW
Normal close SW
SW5
3COMMON
2CARRIAGE HOME POSITION SW
Normal close SW
SW3
1CARRIAGE EXTRA POSITION SW
Normal close SW
SW2
S4BEH
Pin No.
4DRAWER MOTOR +
3DRAWER MOTOR
2CARRIAGE MOTOR
1CARRIAGE MOTOR +
MM1
M
MM2
SW4 OFF, SW5 ON : CARRIAGE No. 1
SW4 ON, SW5 OFF : CARRIAGE No. 2
SW4 ON, SW5 ON : CARRIAGE No. 3
* See page 13 for specific positions of SW and motor.

Related product manuals