EasyManua.ls Logo

Yamaha EF6600DE - Battery Tray Installation (For EF6600 DE); Battery Tray Installation Steps; Engine Hanger Installation; Engine Hanger Installation Steps

Yamaha EF6600DE
66 pages
Print Icon
To Next Page IconTo Next Page
To Next Page IconTo Next Page
To Previous Page IconTo Previous Page
To Previous Page IconTo Previous Page
Loading...
47
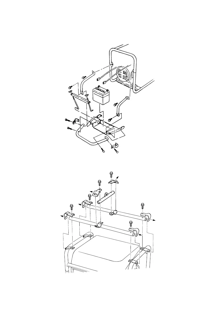
ENGINE HANGER INSTALLATION
BATTERY TRAY INSTALLATION
(For EF6600DE)
7CC-F8199-15-2 11.2.21 13:07 Page 47

Table of Contents

Related product manuals