EasyManua.ls Logo

Yamaha MT1X - Page 7

Yamaha MT1X
42 pages
Print Icon
To Next Page IconTo Next Page
To Next Page IconTo Next Page
To Previous Page IconTo Previous Page
To Previous Page IconTo Previous Page
Loading...
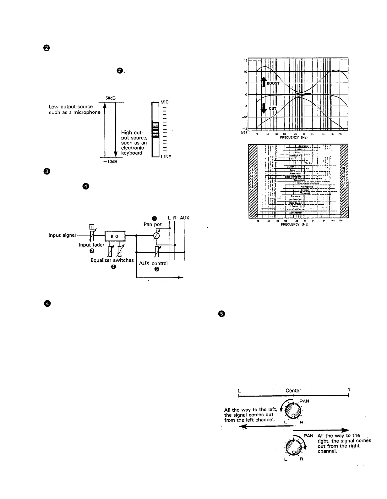
GAIN CONTROLS
The controls adjust the input level of the channel to
match the output level of a microphone or instrument
connected to input jack Control from -10dB to
-50db is possible. Adjust the output level of the
microphone or instrument as outlined in its instruction
booklet.
INPUT FADERS
These controls adjust the volume of the signal input, and
send it to the equalizer. Each control is used for set-
ting the sound level of its channel when mixing it with
the signals of other channels. Position “7” on the scale
is considered ideal for the lowest noise and distortion
characteristics.
Be sure to set the control to “O” for channels not being
used.
EQUALIZER CONTROLS
These controls are used to adjust the tonal character-
istics of the input signal, or the channel output during
playback of previously recorded material. The LO (low)
controls adjust the frequencies centering around 100Hz,
while the HI (high) controls adjust the frequencies center-
ing around 10KHz, with a 10dB boost or cut range for
both controls. Use of these equalizer controls will help
you to get the type of sound you desire, and allow you
to bring the sound“forward
,
“clean up” unclear sounds,
and “push down” sounds at annoying frequencies.
In order to properly use these equalizers, it’s important
to understand the frequency response characteristics
of various musical instruments. This is particularly true
when trying to “change” the sound of a certain in-
strument, because you should know that instrument’s
harmonic sound components as well. For example, the
normal frequency range of a bass drum is between 50Hz
and 150Hz. To bring out this sound so you can feel it
better, the LO (low) control (which centers on the 100Hz
frequency band) can be moved up a little. But the har-
monic sound components are around 10KHz, so the HI
(high) control should also be moved up a little to achieve
5
the proper sound profile of the bass drum.
SOUND CHARACTERISTICS OF THE EQUALIZER AND
VARIOUS MUSICAL INSTRUMENTS
-----Normal frequency
----- Harmonic sound
components
If accurate and comprehensive sound equalization is
required, connect a graphic equalizer or a parameteric
equalizer between the sound source and the input jack.
When recording material that you will intend to “ping-
pong” (see “Ping-ponging” on page 25), later, give the
input somewhat of a high boost with the Hi control to
help preserve the high frequency response when the
track is re-recorded.
PAN (PAN POT) CONTROLS
After volume level and equalizing, the input signal is sent
to these controls. During mixdown (see “Mixdown” on
page 31), each control helps determine the acoustsic
“position” of the signal in regards to the stereo field.
Turning the control all the way to the left puts the signal
all the way over to the left side of the stereo soundspace;
turning the control to the right sends the signal towards
the right. At dead center, the signal comes out equally
from the left and right channels.
These controls are also useful in ping-ponging (see “Ping-
ponging” on page 25).

Related product manuals