EasyManua.ls Logo

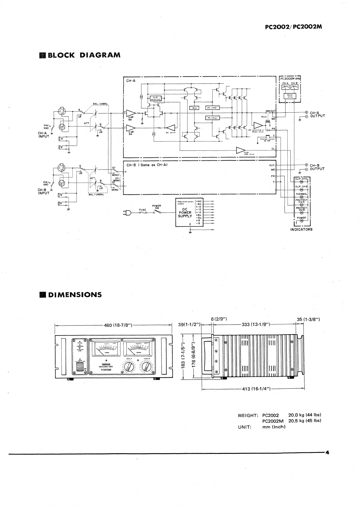
Yamaha PC2002M - System Block Diagram and Dimensions

Yamaha PC2002M
32 pages
Print Icon
To Next Page IconTo Next Page
To Next Page IconTo Next Page
To Previous Page IconTo Previous Page
To Previous Page IconTo Previous Page
Loading...

Other manuals for Yamaha PC2002M

Related product manuals