EasyManua.ls Logo

Yamaha S112 - Bedienelemente; Frontplatte; Dg100- 212 A;Dg80- 210 A;Dg80- 112 A;Dg130 H a

Yamaha S112
84 pages
Print Icon
To Next Page IconTo Next Page
To Next Page IconTo Next Page
To Previous Page IconTo Previous Page
To Previous Page IconTo Previous Page
Loading...
32
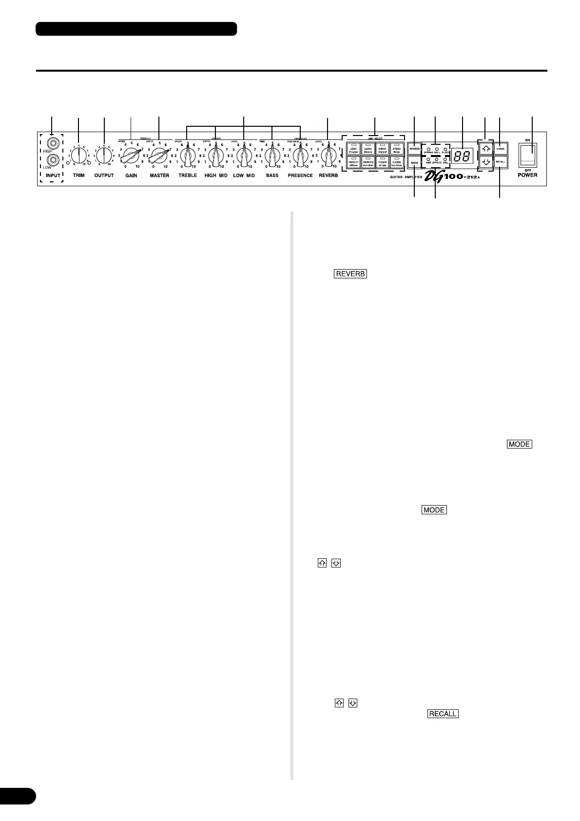
Frontplatte
Bedienelemente
* Beim Drücken einer der AMP SELECT-Tasten kehren die Regler r bis y zu
Ihren Standardpositionen zurück (GAIN und MASTER = 7; alle Klangregler = 5).
Die Position des REVERB-Reglers ändert sich jedoch nicht.
o Halltyp-Wahltaste (REVERB)
!0 Halleffekt-Anzeigelampen (SPRING, HALL, PLATE)
Mit der -Taste wählen Sie den gewünschten Halleffekt. Die
Anzeigelampe des jeweils gewählten Effekts leuchtet zur Bestätigung.
( Seite 35.)
!1 Modus-Wahltaste (MODE)
!2 Modus-Anzeigelampen (AMP, EFFECT, UTIL.)
Zeigen den aktuellen Modus an.
• AMP (Verstärker)
Dies ist der normale Spielmodus. Die Tasten und Regler an der Front-
platte haben in diesem Modus die aufgedruckten Funktionen. (Bei
Reglern und Tasten, die mit zwei Funktionen gekennzeichnet sind,
ist die untere Funktion aktiv.)
Beim Abrufen eines gespeicherten Programms wird automatisch die-
ser Modus vorgegeben.
• EFFECT (Effekt-Einstellmodus) Seite 35
In diesem Modus werden die Effekte (Tremolo, Chorus und Tape Echo)
eingestellt. Zum Aufrufen dieses Modus tippen Sie die -Ta-
ste im AMP-Modus einmal kurz an.
• UTIL. (Utility) Seite 38
Dieser Modus dient zum Einstellen von MIDI-Funktionen, zum Ein-/
Ausschalten der Lautsprecher-Simulation und zum Einstellen des
Regelpunkts für pedalgesteuerte Lautstärkeregelung. Zum Aufrufen
dieses Modus halten Sie die -Taste im AMP-Modus bzw.
EFFECT-Einstellmodus etwa eine Sekunde lang gedrückt.
!3 Display
Zeigt Speicherplatz-, Programmwechsel-, MIDI-Kanalnummern u. dgl. an.
!4 / -Tasten
Zum Erhöhen/Erniedrigen der Speicherplatznummer um 1. Dienen au-
ßerdem zum Erhöhen/Erniedrigen von Werten um 1. Im Utility-Modus
dienen die Tasten zum Erhöhen/Erniedrigen von Werten um 1 sowie
zum Ein-/Ausschalten von Funktionen. Bei gedrückt gehaltener Taste
ändert sich der angezeigte Wert übergangslos.
!5 Speichertaste (STORE)
Zum Sicherstellen der aktuellen Klangeinstellung im internen Programm-
Speicher ( Seite 36). Dient außerdem zum Ausführen von MIDI Bulk
Dump-Vorgängen ( Seite 38).
!6 Abruftaste (RECALL)
Zum Abrufen gespeicherter Programme. Hierzu wählen Sie zunächst
mit den / -Tasten die Nummer des betreffenden Speicherplatzes
(01 bis 128) und drücken dann die -Taste, um die Einstellun-
gen des gespeicherten Programms wieder aufzurufen ( Seite 36).
!7 Netzschalter (POWER)
Zum Ein- und Ausschalten des Verstärkers.
* Zum Schutz der Lautsprecher vor möglichen Schäden stellen Sie den OUTPUT-
Regler e auf “0”, bevor Sie das Gerät ein- oder ausschalten.
q Eingangsbuchse (INPUT, HIGH/LOW)
Hier wird die Gitarre angeschlossen. Gitarren mit hohem Ausgangspegel
sollten an die LOW-Buchse angeschlossen werden. Instrumente mit niedri-
gem Ausgangspegel sollten an die HIGH-Buchse angeschlossen werden.
* Schalten Sie das Gerät vor dem Anschließen der Gitarre aus.
w Trimmregler (TRIM)
Zum Anpassen des Gitarren-Ausgangspegels an den Eingangspegel
des Vorverstärkers ( Seite 35).
* TRIM-Pegeleinstellungen werden nicht gespeichert.
e Ausgangspegelregler (OUTPUT)
Zum Einstellen des Endstufen-Ausgangspegels.
Mit diesem Regler wird die Lautstärke des vorverstärkerseitig per GAIN-
und MASTER-Regler, Klangreglern usw. vorgegebenen Tonsignals ein-
gestellt. Die Lautstärke wird ohne Änderung des Verstärker-Klang-
charakters geregelt.
* Ausgangspegeleinstellungen werden nicht gespeichert.
* Der Regler hat keinen Einfluß auf den Pegel der LINE OUT-Buchsen @4.
r Verstärkungsregler (GAIN)
Dient zur Regelung des Verzerrungsgrads.
* Wenn der GAIN-Regler auf “0” eingestellt ist, wird auch bei ganz aufgedrehtem
MASTER-Regler t kein Ton erzeugt.
Bei aktiviertem EFFECT-Einstellmodus dient der GAIN-Regler zur Ein-
stellung der Tremolo-Geschwindigkeit (SPEED). ( Seite 35.)
t Lautstärkeregler (MASTER)
Zur Regelung der Gesamtlautstärke des per GAIN- und Klangregler
eingestellten Tonsignals. Der Regler wirkt auch auf den Vorverstärker-
Ausgangspegel.
* Gesamtlautstärkeeinstellungen werden gespeichert.
Bei aktiviertem EFFECT-Einstellmodus dient der MASTER-Regler zur
Einstellung der Tremolo-Tiefe (DEPTH). ( Seite 35.)
y Klangregler
(TREBLE, HIGH MID, LOW MID, BASS, PRESENCE)
Zum Einstellen des Signalpegels für den jeweiligen Frequenzbereich.
Bei aktiviertem EFFECT-Einstellmodus haben diese Regler die folgen-
den Einstellfunktionen. ( Seite 35.)
TREBLE, HIGH MID, LOW MID Geschwindigkeit (SPEED), Tiefe
(DEPTH), Pegel (LEVEL) für CHORUS-Effekt.
BASS, PRESENCE Echozeit (TIME) und Effektdauer (FEEDBACK)
für TAPE ECHO-Effekt.
u Hallregler (REVERB)
Zur Einstellung der Stärke des Reverb-Effekts ( Seite 35). Bei akti-
viertem EFFECT-Einstellmodus dient der REVERB-Regler zum Einstel-
len des LEVEL-Werts für den Bandechoeffekt. ( Seite 35.)
i Verstärker-Wahltasten mit Anzeige-LEDs
(AMP SELECT – LEAD 1/2, DRIVE 1/2, CRUNCH 1/2, CLEAN 1/2)
Zum Auswählen eines der acht Verstärker-Presets. Die Anzeige-LED
des gewählten Verstärkertyps leuchtet zur Bestätigung. ( Seite 35.)
Im Utility-Modus dienen diese Tasten zum Einstellen von MIDI-Funktio-
nen sowie zum Ein- und Ausschalten des Lautsprecher-Simulators und
dgl. ( Seite 38.)
* Die Abbildung zeigt den DG100-212A.
!2!1 !6
w e r t y uq i o !0 !3 !4 !5 !7
DG100-212A/DG80-210A/DG80-112A/DG130HA

Table of Contents

Related product manuals