EasyManua.ls Logo

Yamaha S112 - Controles del Panel; Panel Frontal; Dg100- 212 A;Dg80- 210 A;Dg80- 112 A;Dg130 H a

Yamaha S112
84 pages
Print Icon
To Next Page IconTo Next Page
To Next Page IconTo Next Page
To Previous Page IconTo Previous Page
To Previous Page IconTo Previous Page
Loading...
45
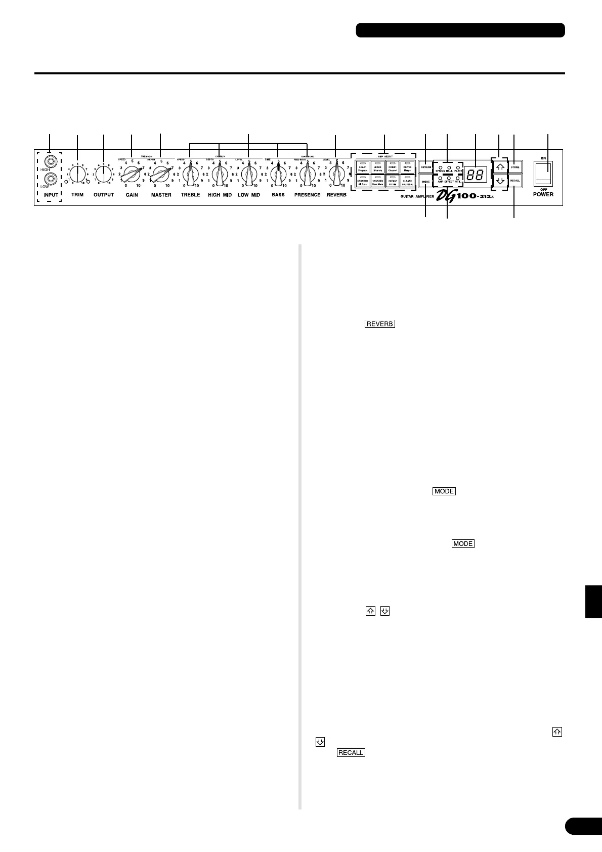
Panel frontal
q Conector de entrada (INPUT HIGH, LOW)
Conecte la guitarra a esta entrada. Las guitarras con un elevado nivel de
salida deberán conectarse a la entrada LOW, y las de bajo nivel de salida a
la entrada HIGH.
* Apague la unidad (OFF) antes de conectar la guitarra.
w Control de preganancia (TRIM)
Se utiliza para coordinar el nivel de salida de la guitarra y el nivel de entrada
del preamplificador ( página 48).
* Los ajustes de nivel de preganancia no se conservan en la memoria.
e Control del nivel de salida (OUTPUT)
Se utiliza para controlar el volumen de salida de la etapa de potencia.
Determina la cantidad de salida del sonido producido por los controles de
ganancia, volumen general, etc., del preamplificador. El volumen no influye
en la calidad tonal del amplificador.
* Los ajustes de nivel de salida no se conservan en la memoria.
* No afecta al nivel (volumen) de la salida de línea LINE OUT @4.
r Volumen de ganancia (GAIN)
Se utiliza para controlar la cantidad de distorsión.
* No se generará sonido si la ganancia se ajusta a 0, incluso aunque se eleve el
volumen general (MASTER) t.
Cuando el modo de efectos está activado, el control GAIN se emplea para
ajustar la velocidad (SPEED) del trémolo ( página 48).
t Volumen general (MASTER)
Se utiliza para controlar el volumen global de ganancia y los ajustes de
control de tono. También controla el nivel de salida del preamplificador.
* Los ajustes de nivel general no se conservan en la memoria.
Cuando el modo de efectos está activado, el control MASTER se emplea
para ajustar la profundidad (DEPTH) del trémolo ( página 48).
y Controles de tono
(TREBLE, HIGH MID, LOW MID, BASS, PRESENCE)
Se utilizan para controlar los niveles de las frecuencias respectivas.
Cuando el modo de efectos está activado, es posible efectuar los ajustes
siguientes: ( página 48)
• TREBLE, HIGH MID, LOW MID SPEED, DEPTH, LEVEL de los coros
• BASS, PRESENCE TIME, FEED BACK del eco de cinta
u Volumen de reverberación (REVERB)
Se utiliza para controlar la cantidad de reverberación ( página 48). Si el
modo de efectos está activado, el mando REVERB se utiliza para realizar el
ajuste de nivel (LEVEL) del eco de cinta ( página 48).
i
Botón y pantalla de selección de amplificador (AMP SELECT)
(LEAD 1, 2/DRIVE 1, 2/CRUNCH 1, 2/CLEAN 1,2)
Se utiliza para seleccionar uno de los ocho tipos de amplificador predefinidos.
En la pantalla aparecerá el tipo seleccionado en ese momento ( página
48).
Si está activado el modo de utilidades, estos interruptores se utilizan para
cambiar de función MIDI, activar o desactivar el simulador de altavoz, etc.
( página 51).
Controles del panel
* Cuando se pulsa el botón Amp Select, los mandos ry restablecen sus posicio-
nes predefinidas (GAIN y MASTER = 7, y todos los controles de tono = 5). La
posición del mando REVERB no cambia.
o Botón de selección del tipo de reverberación (REVERB)
!0 Indicador del tipo de reverberación (SPRING, HALL,
PLATE)
Pulse el botón para seleccionar el tipo de reverberación. Se ilumi-
nará el indicador correspondiente al tipo de reverberación seleccionado (
página 48).
!1 Botón de selección de modo (MODE)
!2 Indicador de modo (AMP/EFFECT/UTIL.)
Indica el modo actualmente seleccionado.
• AMP (Modo de amplificador)
Modo de funcionamiento normal. Todos los mandos y botones del panel
funcionan de acuerdo con el texto rotulado (los mandos y botones con
doble rotulación funcionarán de acuerdo con sus indicadores de la parte
inferior.)
Este modo se activará automáticamente cada vez que se recupere un
ajuste de la memoria.
• EFFECT (Modo de efectos) página 48
Modo de ajuste de efectos (trémolo, coros, eco de cinta).
En el modo Amp, pulse el botón una vez y libérelo de inmediato
para acceder al modo de efectos.
• UTIL. (Modo de utilidades) página 51
Este modo se utiliza para configurar las funciones MIDI y activar o
desactivar el simulador de altavoz. En los modos de amplificador o de
efectos, mantenga pulsado el botón aproximadamente un se-
gundo para acceder al modo de utilidades.
!3 Pantalla
Muestra los números de memoria, los números de cambio de programa, el
canal MIDI, etc.
!4 Botones /
Aumenta o disminuye en una unidad el número de memoria, así como los
valores. En el modo de utilidades, aumenta o disminuye los valores en una
unidad, o activa y desactiva la función. Los valores cambiarán continua-
mente si se mantiene pulsado el botón.
!5 Botón de almacenamiento (STORE)
Pulse este botón para guardar los ajustes de sonido actuales en la memoria
interna. ( página 49). También se utiliza para efectuar las operaciones de
trasvase en bloque MIDI. ( página 51).
!6 Botón de recuperación (RECALL)
Recupera los ajustes almacenados en la memoria. Utilice los botones /
para seleccionar un número de memoria (01-128), y después pulse el
botón para recuperar los ajustes deseados. ( página 49).
!7 Interruptor de encendido (POWER)
Interruptor de encendido del amplificador.
* Para proteger los altavoces de posibles daños, ajuste siempre el volumen de sali-
da e a “0” antes de encender o apagar la unidad.
* Ilustración del DG100-212A
!2!1 !6
w e r t y uq i o !0 !3 !4 !5 !7
DG100-212A/DG80-210A/DG80-112A/DG130HA

Table of Contents

Related product manuals