EasyManua.ls Logo

Yamaha UD-Stomp - IC Block Diagram

Yamaha UD-Stomp
41 pages
Print Icon
To Next Page IconTo Next Page
To Next Page IconTo Next Page
To Previous Page IconTo Previous Page
To Previous Page IconTo Previous Page
Loading...
UD-Stomp
16
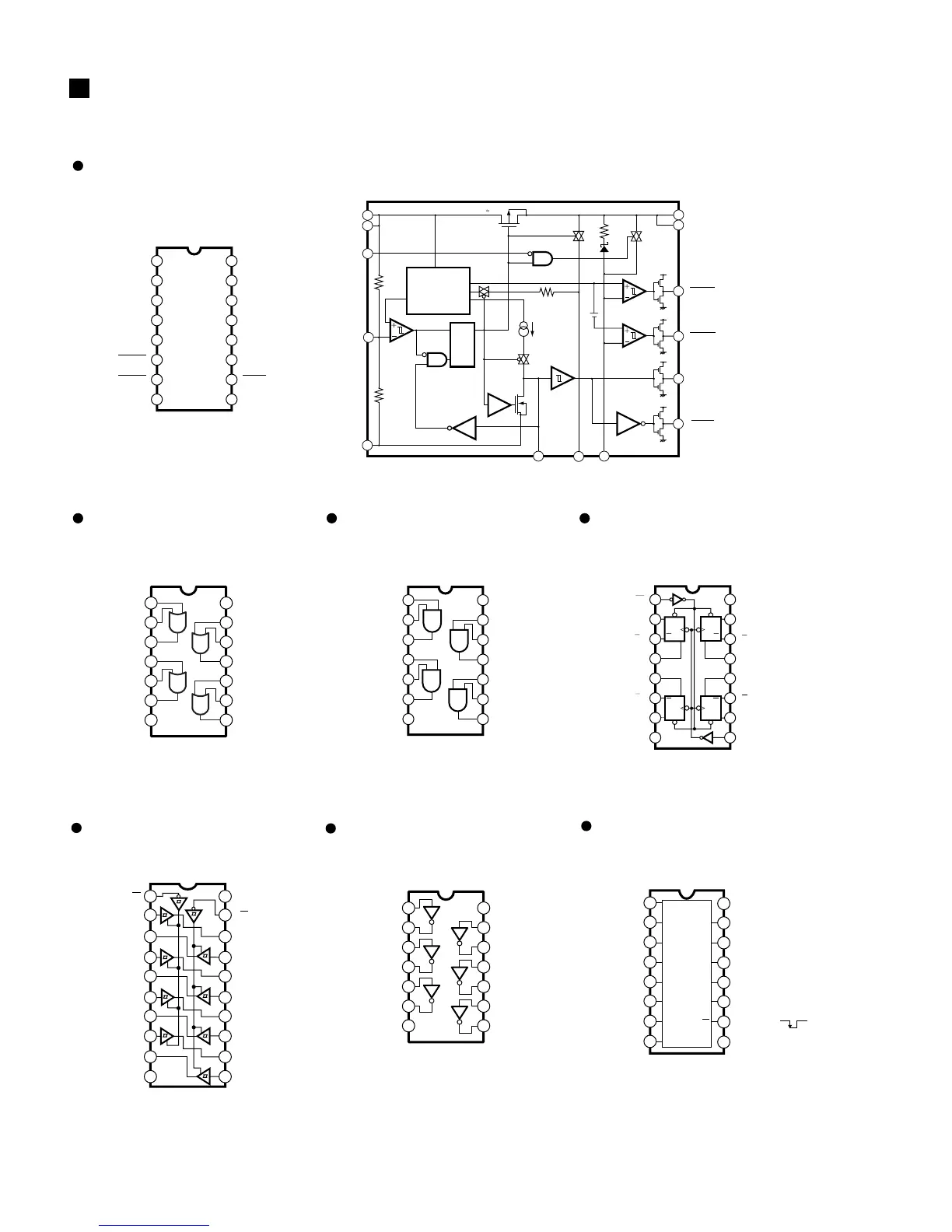
IC BLOCK DIAGRAM
MB3790PF(XR967A00)
DM: IC4
ASSP
2
3
4
5
6
7
8
9
10
11
12
16
14
13
C
T
V
BAT2
V
BAT1
ALARM2
RESET
RESET
ALARM1
V
OUT
V
OUT
V
IN
V
IN
V
SENSE
CONTROL
GND
590k
240k
1.24V
Reference
Voltage
Power Supply
Circuit
S
Q
R
100
SBD
2.65V
2.37V
500
V
IN
V
IN
V
OUT
V
OUT
3µA
V th:3V
V th:1.5V
74AHC32DT
(
XZ103A00
)
DM: IC5, IC6
OR
74HC08DT(XZ108A00)
DM: IC7
AND
74HC244DT(XZ109A00)
DM: IC14, IC15, IC16
Bus Buffer
74HC175DT(XZ113A00)
DM: IC110
Quad D-Type Flip-Flop
1
2
3
4
5
6
7
15
14
13
12
11
10
16
N.C.
V
BAT1
V
OUT
V
OUT
V
BAT2
ALARM1
ALARM1
CONTROL
N.C.
V
IN
V
IN
V
SENSE
C
T
RESET
8 9
GND RESET
TC74HC4040F
(
XR684A00
)
DM: IC108
12-Stage Binary Ripple Counter
74HCU04DT (XZ110A00)
DM: IC107
INVERTER
R
CN
0.5
11A
2
3
4
5
6
7
1B
1Y
2A
2B
2Y
GND
8
9
10
11
12
13
14
V
CC
4B
4A
4Y
3B
3A
3Y
1
2
3
4
5
6
7
13
12
11
10
9
8
141A
1B
1Y
2A
2B
2Y
GND
Vcc
4B
4A
4Y
3A
3B
3Y
1
2
3
4
5
6
7
15
14
13
12
11
10
16MR
Q0
Q0
D0
D1
Q1
Q1
Vcc
Q3
Q3
D3
D2
Q2
Q2
8 9GND CP
Q
Q D
CK
CL
D Q
CK
C LQ
Q
CK
CK
CL QCL
Q
D
Q
D
1OE
1A0
2Y0
1A1
2Y1
1A2
2Y2
1A3
2Y3
1 20
2 19
3 18
4 17
5 16
6 15
7 14
8 13
9 12
10 11
Vcc
2OE
1Y0
2A0
1Y1
2A1
1Y2
2A2
1Y3
2A3GND
11A
2
3
4
5
6
7
1Y
2A
2Y
3A
3Y
GND
8
9
10
11
12
13
14
Vcc
6A
6Y
5A
5Y
4A
4Y
CK
1
2
3
4
5
6
7
Q12 Q12
Q6 Q6
Q5 Q5
Q7 Q7
Q4 Q4
Q3 Q3
Q2 Q2
16
15
14
13
12
11
10
Vcc
Q11Q11
Q10Q10
Q8Q8
Q9Q9
CLRCL
Input Pulses ( )
8
GND
9
Q1Q1

Related product manuals