EasyManua.ls Logo

Yanmar 4JH5E - Page 118

Yanmar 4JH5E
160 pages
Print Icon
To Next Page IconTo Next Page
To Next Page IconTo Next Page
To Previous Page IconTo Previous Page
To Previous Page IconTo Previous Page
Loading...
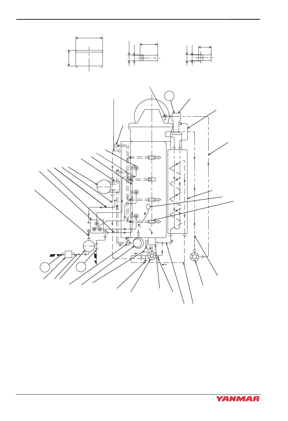
SYSTEM DIAGRAMS
112 JH Series Operation Manual
3JH5E with SD60 Sail Drive
Figure 3
026105-00X
C
D
B
P
P
P
P
T
ø8.5
ø8
ø9
45
ø76.3
ø8
18
25
(1)
(2)
(3)
(4)
(5)
(6)
(7)
(8)
(9)
(10)
(11)
(12)
(14)
(13)
(15)
(17)
(18)
(19)
(20)
(21)
(22)
(23)
(24)
(25)
(26)
(27)
(28)
(29)
(30)
(31)
(32)
(33)
(34)
(39)
(41)
(40)
(35)
(36)
(37)
(38)
(16)
JH5_EN_OPM.book 112 ペー 2013年8月8日 木曜日 午前9時23分

Table of Contents