EasyManua.ls Logo

Yardistry YM12784 - Step 4: Long Beam Assembly - Part 2; Assembling Inside Beam Sections

Yardistry YM12784
84 pages
Print Icon
To Next Page IconTo Next Page
To Next Page IconTo Next Page
To Previous Page IconTo Previous Page
To Previous Page IconTo Previous Page
Loading...
20 support@yardistrystructures.com
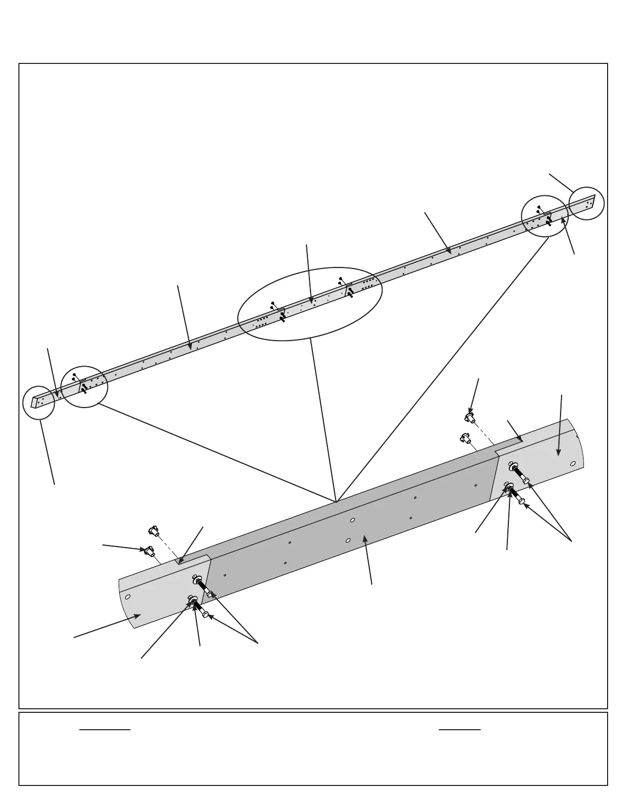
HardwareWood Parts
2 x (1198) Inside Beam
4 x (1201) Inside Middle Beam
4 x (1197) Beam End
16 x 5/16 x 1-1/2” Hex Bolt
(5/16” lock washer, 1/4-5/16” large washer, 5/16” t-nut)
D: Connect one (1201) Inside Middle Beam to each end of one (1198) Inside Beam using four 5/16 x 1-1/2” Hex
Bolts (with 5/16” lock washer, 1/4-5/16” large washer and 5/16” t-nut). At the end of each (1201) Inside Middle
Beam connect one (1197) Beam End with two 5/16 x 1-1/2” Hex Bolts (with 5/16” lock washer, 1/4-5/16” large
washer and 5/16” t-nut) per end. Notice the orientation of angled ends. This is the Inside Beam Assembly. (F4.5
and F4.6)
E: Repeat Steps D to make two Inside Beam Assemblies.
Inside Beam
Assembly
Step 4: Long Beam Assembly
Part 2
Make sure bolt heads
are on the sides as
shown for each Inside
Beam Assembly
Notice orientation
of angled ends
Notice orientation
of angled ends
(1197) Beam End
(1198) Inside Beam
(1201) Inside
Middle Beam
(1197)
Beam End
(1198) Inside Beam
(1201) Inside
Middle Beam
F4.5
F4.6
Tight
5/16 x 1-1/2”
Hex Bolt
5/16” T-nut
5/16” Lock
Washer
1/4-5/16”
Large Washer
Tight
5/16 x 1-1/2”
Hex Bolt
5/16”
T-nut
5/16” Lock
Washer
1/4-5/16”
Large Washer
(1201) Inside
Middle Beam
(1201) Inside
Middle Beam

Related product manuals