EasyManua.ls Logo

Yardistry YM12952 - Step 4: Long Beam Assembly; Part 1: Initial Long Beam Construction

Yardistry YM12952
75 pages
Print Icon
To Next Page IconTo Next Page
To Next Page IconTo Next Page
To Previous Page IconTo Previous Page
To Previous Page IconTo Previous Page
Loading...
19 support@yardistrystructures.com
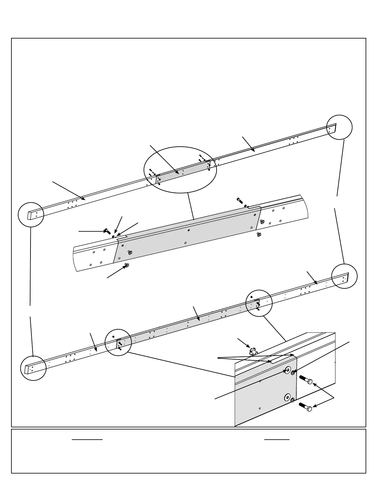
Step 4: Long Beam Assembly
Part 1
A: Connect one (694) Outer End to each end of one (693) Outer Beam Centre using four 5/16 x 1-1/2” Hex
Bolts (with 5/16” lock washer, 1/4-5/16” large washer and 5/16” t-nut) as shown in F4.1 and F4.2. Notice
orientation of angled ends.
B: Connect one (692) Beam Long End to each end of one (691) Beam Long Inside using four 5/16 x 1-1/2”
Hex Bolts (with 5/16” lock washer, 1/4-5/16” large washer and 5/16” t-nut) as shown in F4.3 and F4.4. Notice
orientation of angled ends.
C: Repeat Steps A and B to make two Outer Beam Assemblies and two Inside Beam Assemblies.
HardwareWood Parts
2 x (691) Beam Long Inside
4 x (692) Beam Long End
2 x (693) Outer Beam Centre
4 x (694) Outer End
16 x 5/16 x 1-1/2” Hex Bolt
(5/16” lock washer, 1/4-5/16” large washer, 5/16” t-nut)
5/16” T-nut
F4.1
F4.2
1/4-5/16”
Large Washer
5/16 x 1-1/2”
Hex Bolt
Tight
5/16” Lock
Washer
5/16 x 1-1/2”
Hex Bolt
(691) Beam
Long Inside
(693) Outer
Beam Centre
(694) Outer End
(692) Beam
Long End
Make sure bolt heads are
on the sides as shown
for each Beam Assembly
F4.3
F4.4
(692) Beam
Long End
Notice orientation
of angled ends
Notice orientation
of angled ends
(694) Outer End
Outer Beam
Assembly
Inside Beam
Assembly
5/16” T-nut
5/16” Lock
Washer
1/4-5/16”
Large Washer

Related product manuals