EasyManua.ls Logo

YASKAWA CIMR-VCBA0006

YASKAWA CIMR-VCBA0006
152 pages
Go to English
To Next Page IconTo Next Page
To Next Page IconTo Next Page
To Previous Page IconTo Previous Page
To Previous Page IconTo Previous Page
Loading...
EN 12 YASKAWA Europe TOMP_C710606_75A V1000 IP66 - Quick Start Guide
3 Electrical Installation
3 Electrical Installation
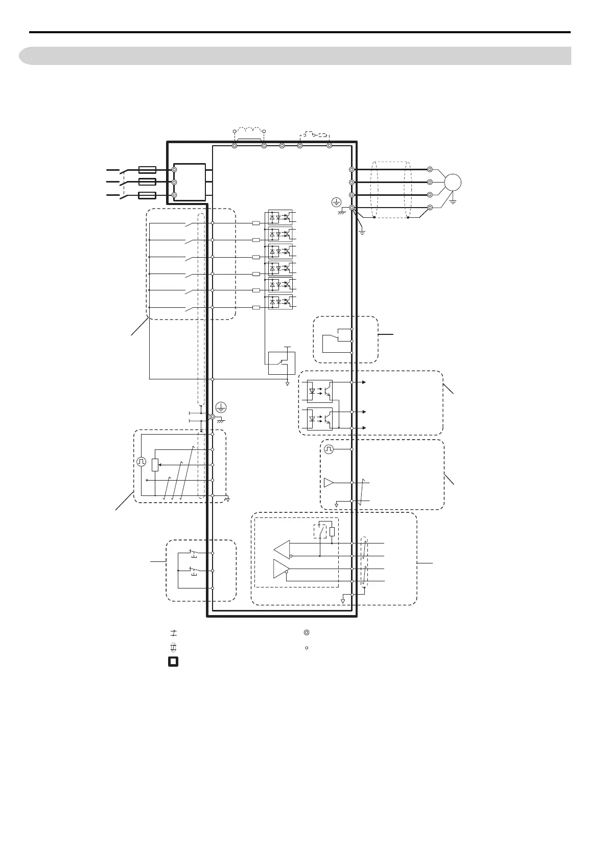
The figure below shows the main and control circuit wiring.
<1> Single-phase units do not have a L3 terminal.
<2> These terminals can be used to disable the drive output. Other than in V1000 standard drives they can NOT be used to perform safe stop according to EN60204-1 (Function
is in preparation. Contact your sales representative or YASKAWA for details).
Power
Supply
L1
L2
L3
S1
S2
S3
S4
S5
S6
B1+1+2 B2
L1
L2
L3
U/T1
V/T2
W/T3
24 V
0V
SINK
SOURCE
MA
P1
MB
MC
+24 V 8 mA
M
U
V
W
SC
P2
MP
AM
AC
PC
IG
R+
R
S+
S
H2
RP
+V
A1
A2
AC
2 kΩ
HC
H1
DC reactor
(option)
Filter
Fuses
Main
Switch
Forward/Stop
Reverse/Stop
External Fault
Fault Reset
Multi-speed 1
Multi-speed 2
Multi-function
digital inputs
(default setting)
Link
Thermal
relay
Braking
resistor
(opt)
V1000 IP66
Ground
Multi-function relay output
250 Vac / 30 Vdc (10 mA to 1A)
(default setting)
Fault
During run
Frequency agree
Photocoupler
common
Multi-function
photo-
coupler output
48 Vdc, 2 to 50 mA
(default setting)
DIP
switch S3
Shielded ground
terminal
Pulse Input
(max. 32kHz)
Multi-function analog input 1
0 to 10 V (20 k
Ω)
Multi-function analog input 2
0 to 10 V (20 k
Ω) or
0/4 to 20 mA (250
Ω)
Analog input power supply
+10.5 Vdc, max. 20 mA
Multi-function pulse / analog inputs
(default: frequency reference)
Drive Disable
inputs
Monitor outputs
(default setting)
Analog output
0 to +10 Vdc (2mA)
(Output frequency)
Pulse train output
(max. 32 kHz)
(Output frequency)
Terminal resistance
(120
Ω, 1/2 W)
Memobus comm.
RS-485/422
max. 115 kbps
Shielded
Cable
Symbols:
Use twisted pair cables.
Use shielded twisted pair cables.
Indicates the IP66 enclosure.
Indicates a main circuit terminal.
Indicates a control circuit terminal.
<1>
<2>
TOMP_C710606_75A_0_0_prePrint.pdf 44 21.12.2010 13:52:23

Related product manuals