EasyManua.ls Logo

Zebra 105SL - Page 201

Zebra 105SL
246 pages
Print Icon
To Next Page IconTo Next Page
To Next Page IconTo Next Page
To Previous Page IconTo Previous Page
To Previous Page IconTo Previous Page
Loading...
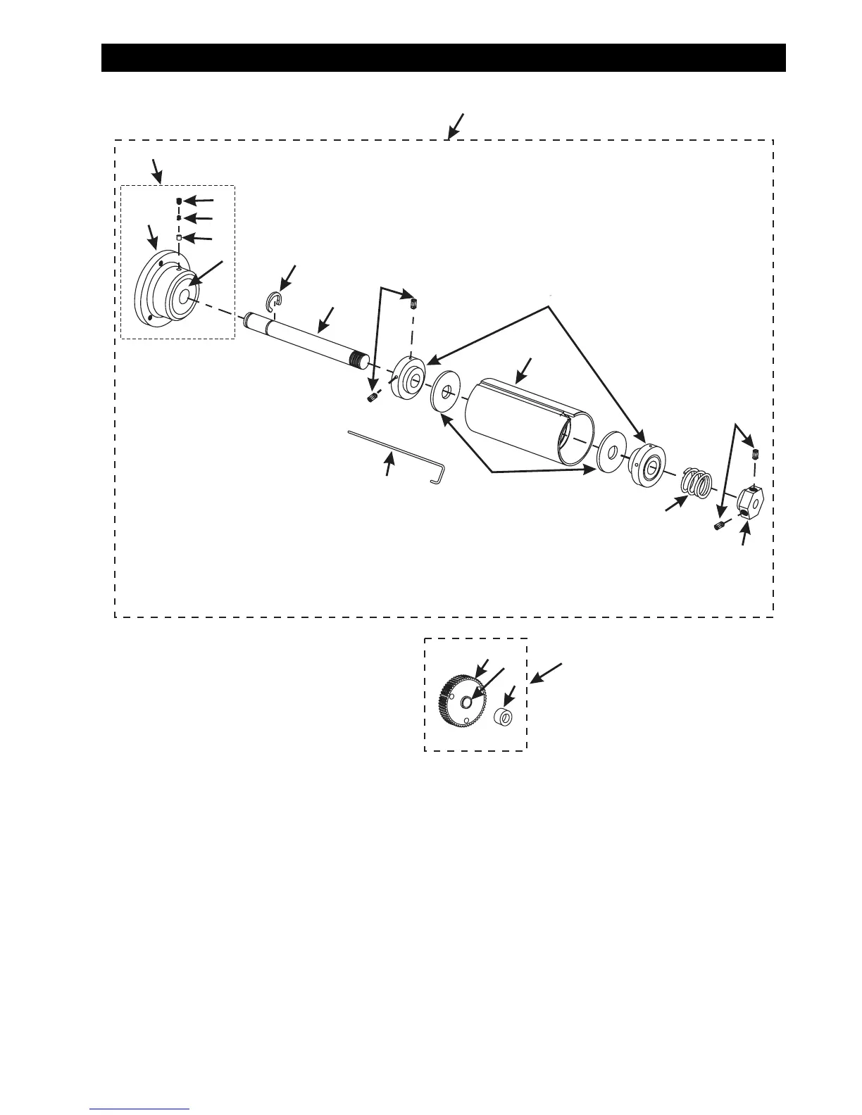
32056L Rev. 2 12/4/01 105SL Maintenance Manual Page 5-21
MAINTENANCE AND ASSEMBLY DRAWINGS SECTION 5
Figure 5-9. Ribbon Take-up Spindle and Pulley
Notes:
1) Soak Felt Washers 30041-1 in Silicone Oil & Squeeze Out.
(2) Assembly is Positioned via Positioning Collar & Set Screws
Collar should be 0.030 to 0.080 from Edge of 30118.
3
2
4
5
6
7
8
9
10
11
12
13
16
1
14
15
18
19
17
20
21

Other manuals for Zebra 105SL

Related product manuals