EasyManua.ls Logo

Zeiss IOLMaster - Page 147

Zeiss IOLMaster
Print Icon
To Next Page IconTo Next Page
To Next Page IconTo Next Page
To Previous Page IconTo Previous Page
To Previous Page IconTo Previous Page
Loading...
55
000000Ć1150Ć839 IOLMaster 11.02.2004
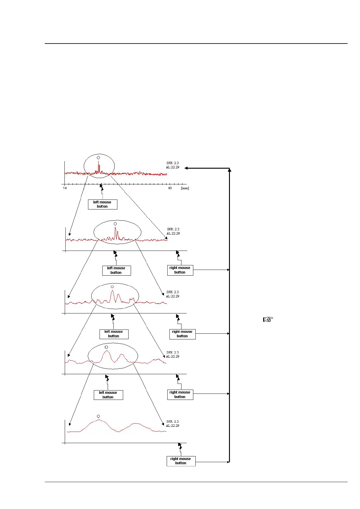
Zooming the graph display
The system allows zooming the graphs in 4 steps for improving the
interpretation of signal curves:
Move the cursor on the length axis (XĆaxis) to the position that shall
be in the center of the zoomed in image and press the left mouse
button. You may repeat this procedure four times.
To return to the original view (zooming out), place the cursor at any
position on the length axis and press the right mouse button.
Note:
In zoomed views, the axial length
scale is not visible.
Evaluation of ALM results

Related product manuals