EasyManua.ls Logo

Zeiss IOLMaster - Page 242

Zeiss IOLMaster
Print Icon
To Next Page IconTo Next Page
To Next Page IconTo Next Page
To Previous Page IconTo Previous Page
To Previous Page IconTo Previous Page
Loading...
58
000000Ć1150Ć839 IOLMaster 11.02.2004
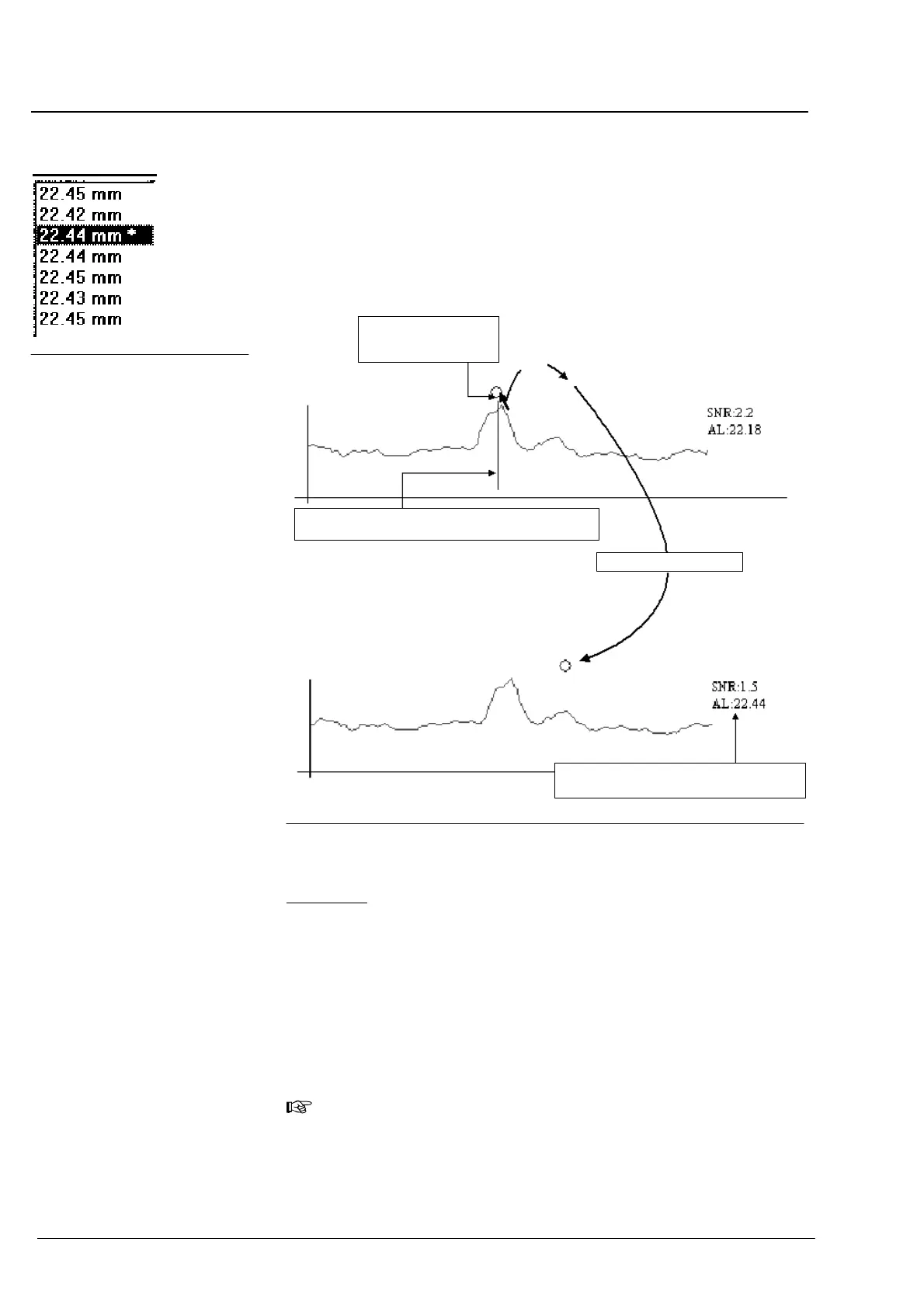
Sont affichés la valeur mesurée de longueur axiale y afférente et le SNR
correspondant (celuiĆci est toujours plus petit que le SNR maximum
trouvé automatiquement) et dans le champ d'affichage, la valeur
mesurée nouvellement établie est toujours marquée d'une étoile (*)
(Fig. 46).
Exemple:
Fig. 47 Déplacement du curseur de mesure vers un autre pic (courbe de mesure
zoomée 3 fois)
Tenez appuyée la touĆ
che gauche de la souris
La ligne bleue se déplace en même temps que le curseur
Lâchez la touche
Longueur d'axe et SNR nouvellement établis.
Tirez
Remarque:
Cette manipulation ne fonctionne que si le curseur de mesure est tiré
parĆdessus le maximum (local) du pic cible souhaité ; cette démarche est
nécessaire pour que l'algorithme de recherche trouve véritablement le
pic souhaité et ne s'enclenche pas de nouveau dans le pic initial
(supérieur). Des pics qui se trouvent très près les uns à côté des autres
(double pics) et dans le cas desquels la courbe de mesure entre les
maximums ne tombe pas sous la moitié de l'amplitude maximum ne
peuvent être séparés avec cette méthode automatique.
Information:
Pendant que le curseur de mesure est tiré, la valeur mesurée et
le SNR sont toujours indiqués à côté de la courbe. Ce n'est que
lorsque la touche de la souris est lâchée que la nouvelle valeur de
la longueur axiale et le SNR y afférent sont évalués et ensuite
affichés.
Fig. 46 Valeur mesurée
manipulée
EvaluationĂdesā résultatsā de mesure ALM

Related product manuals