EasyManua.ls Logo

Zeiss IOLMaster - Page 65

Zeiss IOLMaster
Print Icon
To Next Page IconTo Next Page
To Next Page IconTo Next Page
To Previous Page IconTo Previous Page
To Previous Page IconTo Previous Page
Loading...
63
000000Ć1150Ć839 IOLMaster 11.02.2004
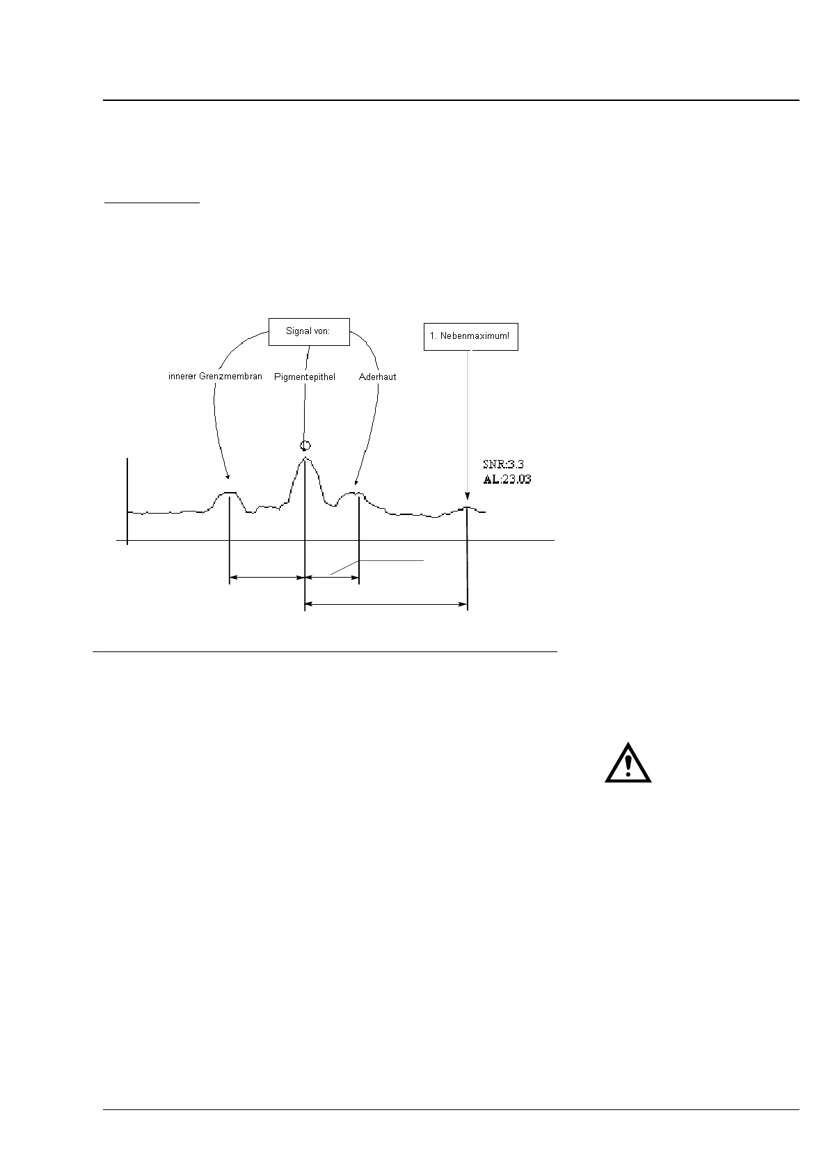
Signale von der Aderhaut
Dreifachpeaks
In seltenen Fällen kann es vorkommen, dass Messlicht auch an Gefäßen
der Aderhaut reflektiert wird.
Abb. 51 Seltener Dreifachpeak (3Ćfach gezoomt)Ą
150 ... 350 m
150 ... 250 m
ca. 800 m
Der von der Aderhaut erzeugte Messpeak liegt ca. 150 bis 250 m vom
Pigmentepithelpeak zu größeren Achslängen hin verschoben.
Im oben gezeigten Fall hat das Signal vom Pigmentepithel (mittlerer
Peak) die größte Amplitude; die automatische Peakerkennung hat dieĆ
sen Messwert richtig als Achslänge erkannt, so dass der Messkursor
nicht verschoben werden darf!
Diese Art von seltenen 3Ćfach Peaks unterscheiden sich von den NebenĆ
maxima, welche durch die Lichtquelle bedingt sind (siehe oben) deutlich
durch die Abstände zum Hauptmaximum!
Auswertung der ALMĆMessergebnisse

Related product manuals