EasyManua.ls Logo

Zenith VRA424 - Page 8

Zenith VRA424
40 pages
Print Icon
To Next Page IconTo Next Page
To Next Page IconTo Next Page
To Previous Page IconTo Previous Page
To Previous Page IconTo Previous Page
Loading...
INSTALLATIONPAGE 8
Some things
you must do
and others
you may
want to do
before you
can operate
your VCR
Before you operate your VCR
Press number keys
QUIT = exit
SETUP MENU
AUTO PROGRAM: 1
CH. ADD/DEL: 2
SOURCE: 3
ON-SCREEN DISPLAY: 4
LANGUAGE SELECT: 5
Press number keys
then ENTER QUIT = exit
SETUP MENU
SOURCE: TUNER (TV)
1 TV 2 CATV
3 AUX1 4 AUX2
SETUP MENU
Press NUMBER
(1, 2, 3, or 4) to
select the desired
source
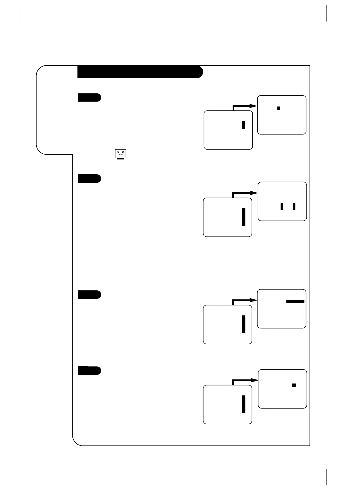
Press 3.
Set Date and Time for Clock
Set the clock in the VCR to the current
date and time. See CLOCK Menu for
details.
Your VCR also has an Auto-Clock Set
feature. See CLOCK Menu for details.
The Timer feature will not
function unless the Clock has
been set.
Select Source for VCR
(Optional) Set the source of the VCR for
the type of program signal you have
connected to the ANT IN jack on the
back of the VCR. Choose TV if you have
an antenna connected to the VCR.
Choose CATV if you have a cable system
(with or without a cable box) connected
to the VCR. Choose AUX1 (or AUX2) if
you have an accessory Audio/Video
(A/V) connected to the VCR.
See SOURCE option on SETUP menu for
details.
Use Auto Program to Find
Channels
(Required) Use AUTO PROGRAM to find
active channels in your broadcast area.
AUTO PROGRAM stores the active chan-
nels that you can access by using the
Channel Up/Down arrows. See AUTO
PROGRAM on the SETUP Menu for
details.
Use CH. ADD/DEL to Create
Favorite Channels
(Optional) Use CH. ADD/DEL to change
the list of active channels found when
using AUTO PROGRAM, so you can list
your favorites. See CH.ADD/DEL on the
SETUP Menu for details.
6
Press number keys
QUIT = exit
SETUP MENU
AUTO PROGRAM: 1
CH. ADD/DEL: 2
SOURCE: 3
ON-SCREEN DISPLAY: 4
LANGUAGE SELECT: 5
QUIT = exit
SETUP MENU
AUTO PROGRAM: SEARCHING
SETUP MENU
Press 1.
Press number keys
then ENTER QUIT = exit
SETUP MENU
CH. ADD/DEL: CH. 2 ADD
SETUP MENU
Press NUMBER
(0-9) then ENTER
Press 2.
7
8
5
CLOCK MENU
AUTO CLOCK SET(ON): 1
MANUAL CLOCK SET : 2
Press number keys
QUIT = exit
CLOCK MENU
MONTH : 1 JANUARY
DAY : 1 THU
YEAR : 1998
TIME : 12:00 PM
Press number keys
then ENTER QUIT = exit
CLOCK MENU
Press NUMBER
(0-9) then ENTER to
set date and time
Press 2.

Related product manuals