EasyManua.ls Logo

A&D GF-2002A - Advanced Balance Functions; Impact Detection Functionality

A&D GF-2002A
41 pages
Print Icon
To Next Page IconTo Next Page
To Next Page IconTo Next Page
To Previous Page IconTo Previous Page
To Previous Page IconTo Previous Page
Loading...
GX-A Series/GF-A Series Communication Manual 29 / 41
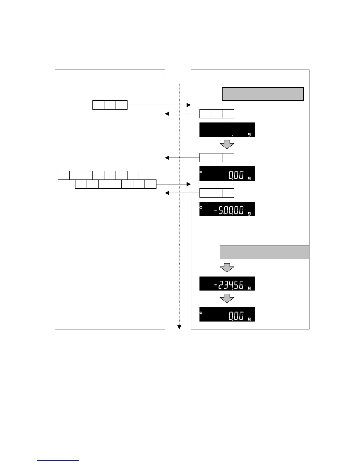
Example of setting a negative target value and filling with a sample until the display
becomes zero
PC side
R command
R CR LF
Balance side
AK CR LF
Command received
Waiting for
re-zero stability
processing
AK CR LF
Command completed
Zero display
Time
Container weight
value Displayed
with the negative
sign
PT command
Target weight is 500g
Filling
When 500.00g o
f
sample is filled
Place a container
A
ction:
P T : 5 0 0 .
0 0 _ _ g CR LF
AK CR LF
Command received
Fill with sample
A
ction: