EasyManua.ls Logo

ABB CoriolisMaster FCB330 - Connection Examples for the Peripherals

ABB CoriolisMaster FCB330
64 pages
To Next Page IconTo Next Page
To Next Page IconTo Next Page
To Previous Page IconTo Previous Page
To Previous Page IconTo Previous Page
Loading...
CoriolisMaster FCB330, FCB350, FCH330, FCH350 | CI/FCB300/FCH300-EN Rev. F 25
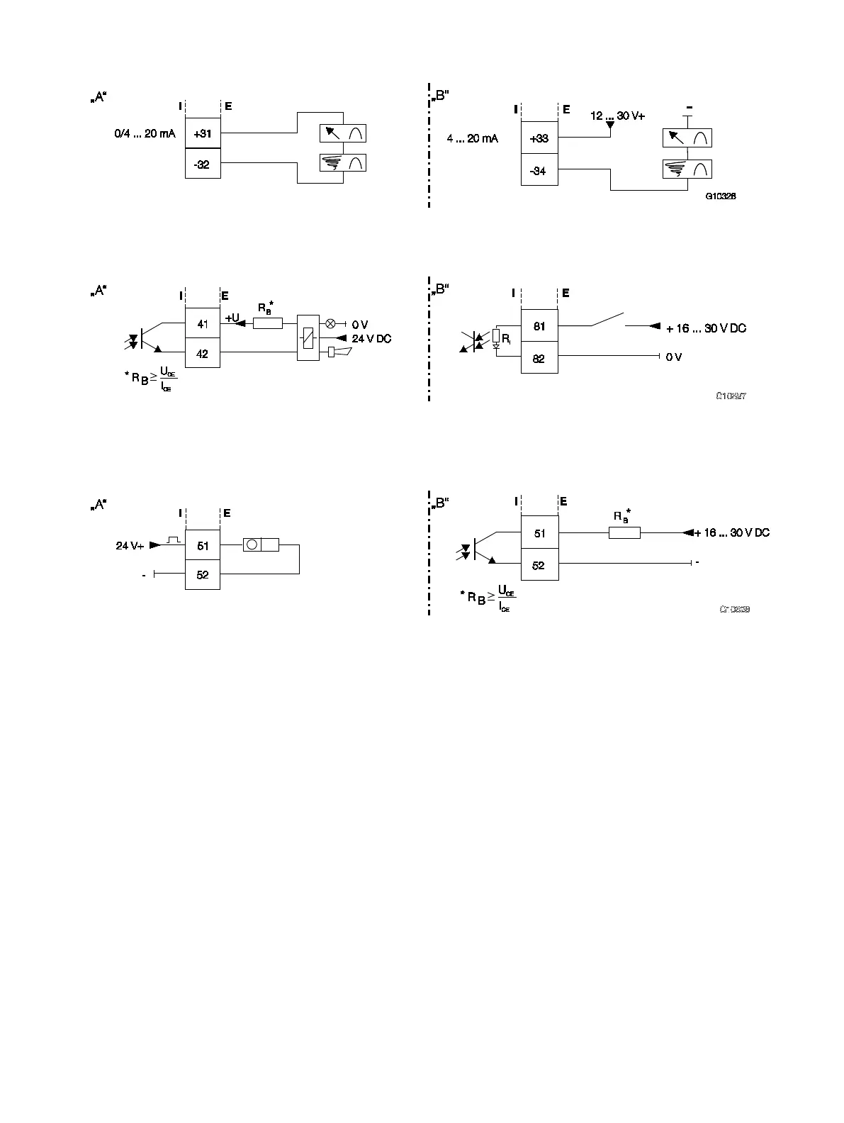
5.6.2 Connection examples for the peripherals
Current outputs (including HART communication)
Fig. 21: Active / passive current outputs
"A" Active | "B" Passive | I Internal | E External
Digital switching output and digital switching input
Fig. 22
"A" Output for system monitoring, min. / max. alarm for empty meter tube or forward / reverse signal |
"B" Input for external totalizer reset or external output zero return | I Internal | E External
Pulse output
Fig. 23: Active / passive pulse output
"A" Active | "B" Passive (optocoupler) | I Internal | E External

Table of Contents

Related product manuals