EasyManua.ls Logo

ABB TZIDC-110 - TZIDC Sample Parameter: Zero Position

ABB TZIDC-110
88 pages
Print Icon
To Next Page IconTo Next Page
To Next Page IconTo Next Page
To Previous Page IconTo Previous Page
To Previous Page IconTo Previous Page
Loading...
Commissioning
42/18-84-EN TZIDC, TZIDC-110, TZIDC-120 33
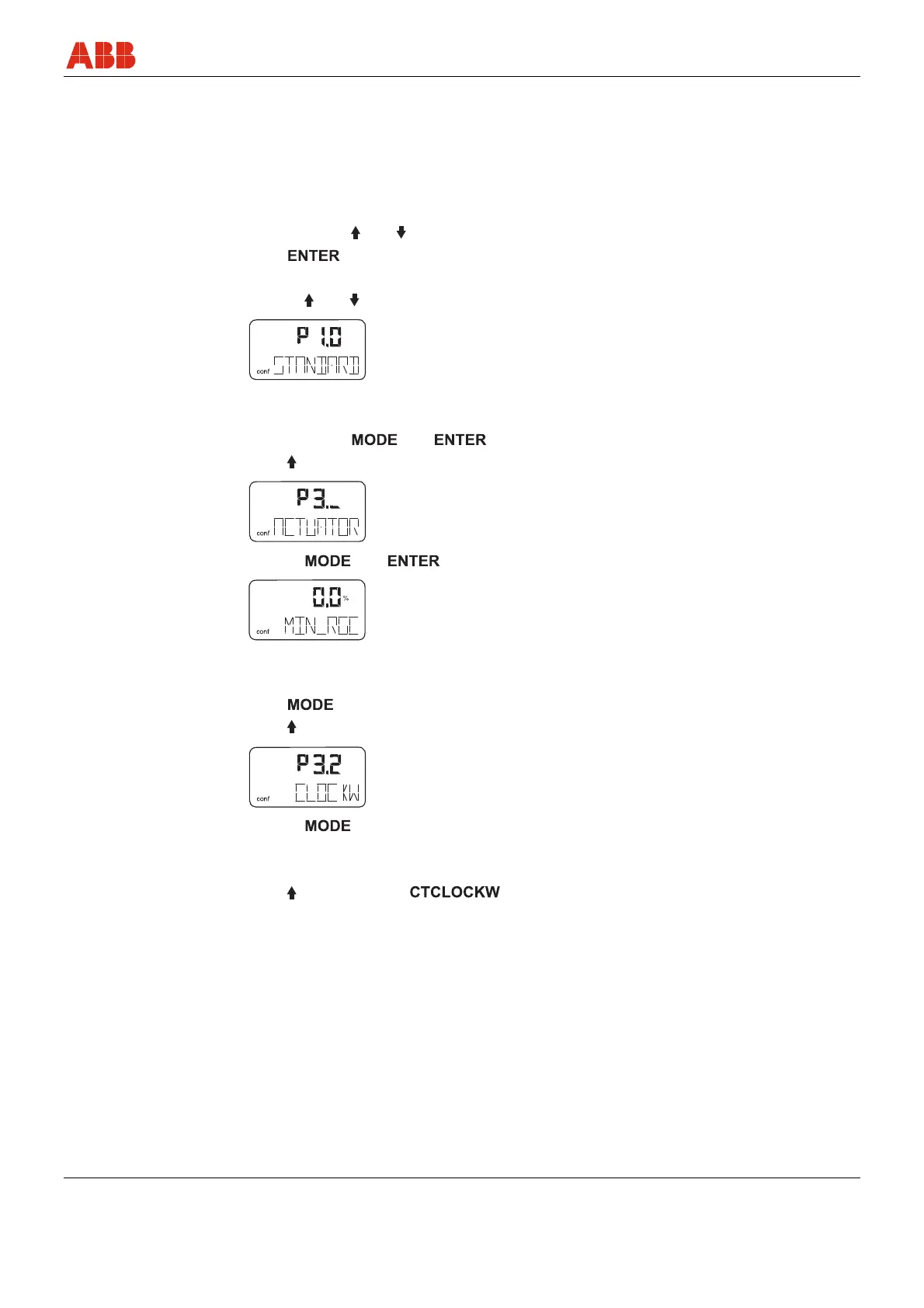
7.1.2 Sample parameters
"Change the zero position of the LCD screen from clockwise (CLOCKW) to counter-
clockwise stop (CTCLOCKW)"
Starting position: The positioner operates in mode 1.1 in the operating level.
1. Switch to the configuration level:
Press and hold
and simultaneously
• Press
briefly
Wait until the countdown goes from 3 to 0
• Release
and
is displayed
2. Switch to parameter group 3._:
Press and hold
and simultaneously
• Press
twice briefly
is displayed
• Release
and
is displayed
3. Select parameter 3.2:
• Press
and hold
• Press
twice briefly
is displayed
• Release
4. Change parameter settings:
• Press
briefly to select

Table of Contents

Other manuals for ABB TZIDC-110

Related product manuals