EasyManua.ls Logo

acaia Coffee Scale - Core Operations; Basic Operations

acaia Coffee Scale
23 pages
Print Icon
To Next Page IconTo Next Page
To Next Page IconTo Next Page
To Previous Page IconTo Previous Page
To Previous Page IconTo Previous Page
Loading...
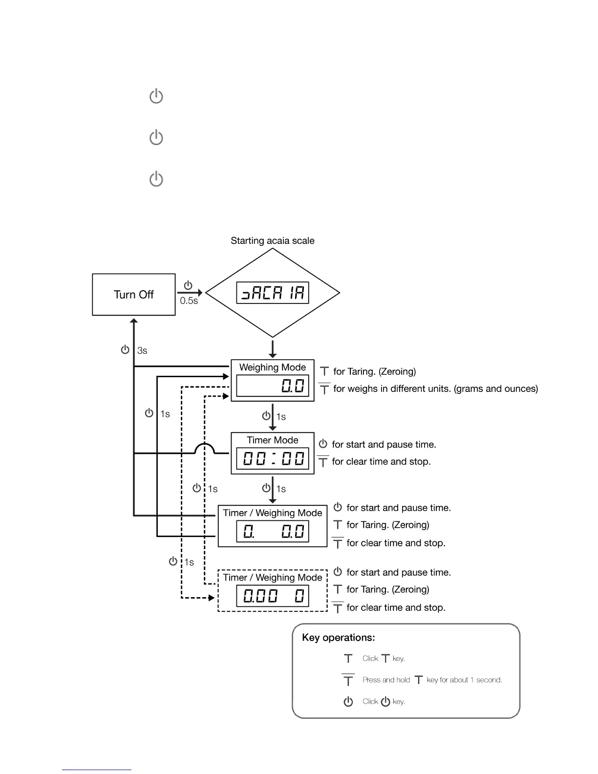
Basic Operations
Turn On
Press and hold button for 0.5 seconds to turn on the scale.
Turn Off
Press and hold button for 3 seconds to turn off the scale.
Switch Modes
Press and hold button for 1 second each time to toggle through different modes.
Note :The dashed line applies to firmware 1.72+, the default Timer Mode is turn off.
Chapter 3: Basics 11

Related product manuals