EasyManua.ls Logo

acaia Coffee Scale - Configuration Settings Overview; Setup Mode Settings

acaia Coffee Scale
23 pages
Print Icon
To Next Page IconTo Next Page
To Next Page IconTo Next Page
To Previous Page IconTo Previous Page
To Previous Page IconTo Previous Page
Loading...
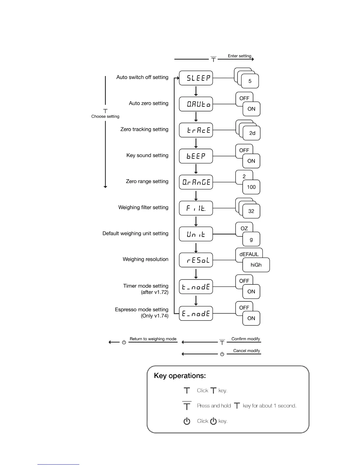
Setup Mode Settings!
Chapter 4: Configuration 15

Related product manuals