EasyManua.ls Logo

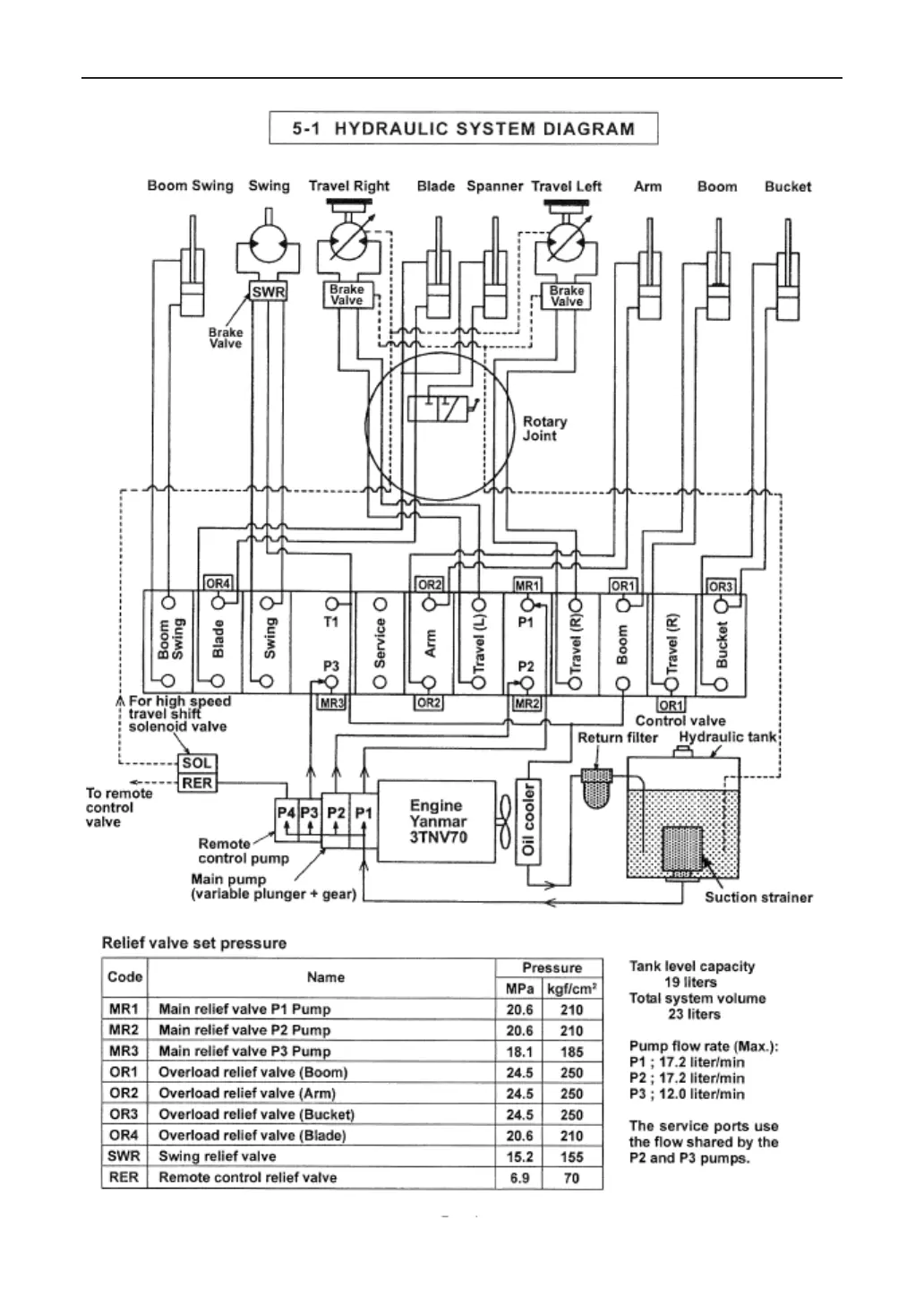
achilles A23S - 5-1 HYDRAULIC SYSTEM DIAGRAM

Default Icon
94 pages
Print Icon
To Next Page IconTo Next Page
To Next Page IconTo Next Page
To Previous Page IconTo Previous Page
To Previous Page IconTo Previous Page
Loading...
70

Related product manuals