EasyManua.ls Logo

Advantech Network Device USB-4761 - Figure 3.2:Isolated Digital Input Connections; Figure 3.3:Relay Output Channel Connections; Isolated Digital Input Connections; Single-Ended Channel Connections

Advantech Network Device USB-4761
38 pages
Print Icon
To Next Page IconTo Next Page
To Next Page IconTo Next Page
To Previous Page IconTo Previous Page
To Previous Page IconTo Previous Page
Loading...
25 Chapter 3
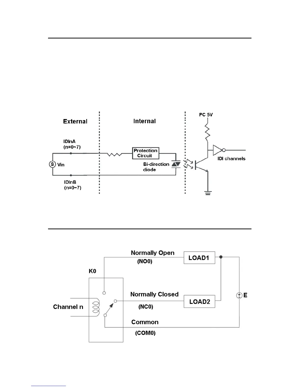
3.3 Isolated Digital Input Connections
3.3.1 Single-ended Channel Connections
USB-4761 has 8 isolated digital input channels. Each of isolated digital
input channel accepts 10~30 V
DC
voltage inputs, and accept bi-direc-
tional input. It means that you can apply positive or negative voltage to an
isolated input pin (Vin ). The figure below shows how to connect an
external input source to one of the card's isolated input channels.
Figure 3.2: Isolated Digital Input Connections
3.4 Relay Connections
After power on, the initial relay output status is shown as below:
Figure 3.3: Relay Output Channel Connections

Table of Contents